EasyManua.ls Logo

Miele ProLine CS 1013-1 - Page 40

Miele ProLine CS 1013-1
52 pages
Print Icon
To Next Page IconTo Next Page
To Next Page IconTo Next Page
To Previous Page IconTo Previous Page
To Previous Page IconTo Previous Page
Loading...
Installation
*INSTALLATION*
40
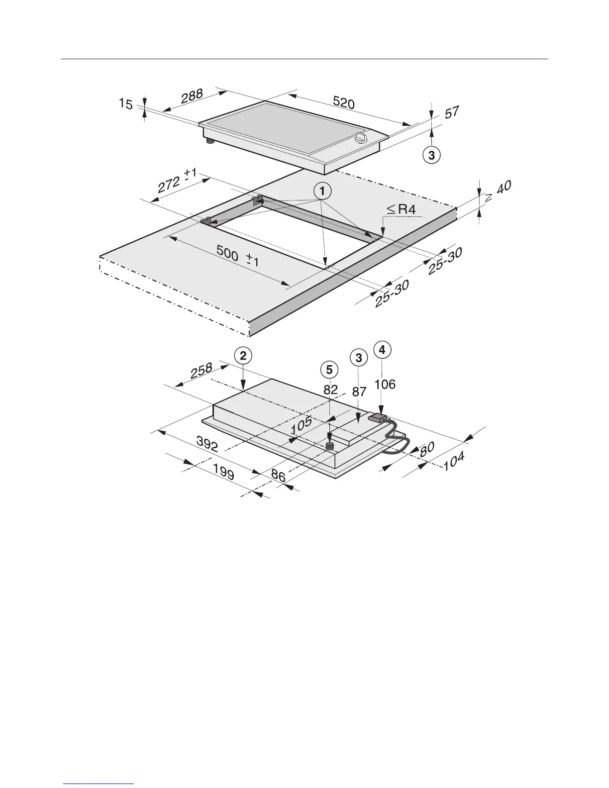
Calculating the worktop cut-out
The frames of the ProLine elements overlap the worktop at the outside right and
left by 8mm on each side.
Add up the widths of the ProLine elements and subtract 16mm from this figure.
Example:
288mm+288mm+380mm=956mm-16mm=940mm
The ProLine elements are 288mm, 380mm or 576mm wide depending on the
ProLine elements (see “Building-in dimensions” in the “Installation” chapter).
Spacer bars
When installing several ProLine elements, an additional spacer bar must be fitted
in between the individual ProLine elements. The position for securing the spacer
bar will depend on the width of the ProLine element.

Related product manuals