EasyManua.ls Logo

Miele T 5206 - Installation - Front View

Miele T 5206
36 pages
Print Icon
To Next Page IconTo Next Page
To Next Page IconTo Next Page
To Previous Page IconTo Previous Page
To Previous Page IconTo Previous Page
Loading...
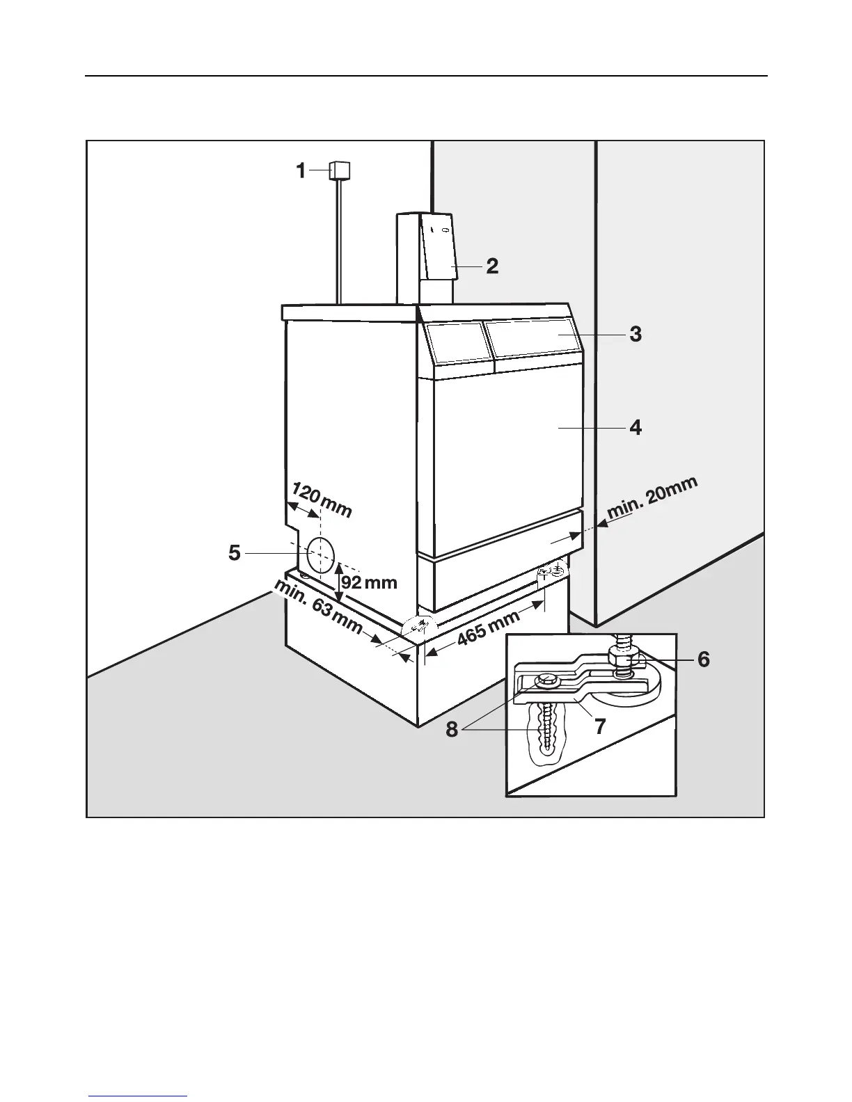
Installation
View from the front
1 Isolator switch
2 Coin mechanism (optional)
3 Control panel
4 Door
5 Exhaust connection DN 100
Exit to the rear or through the
left hand side of the machine
6 Hexagon headed nut M 10
7 Clamp
8 Screw, Washer, Plug (8 x 40)
Installation
23