EasyManua.ls Logo

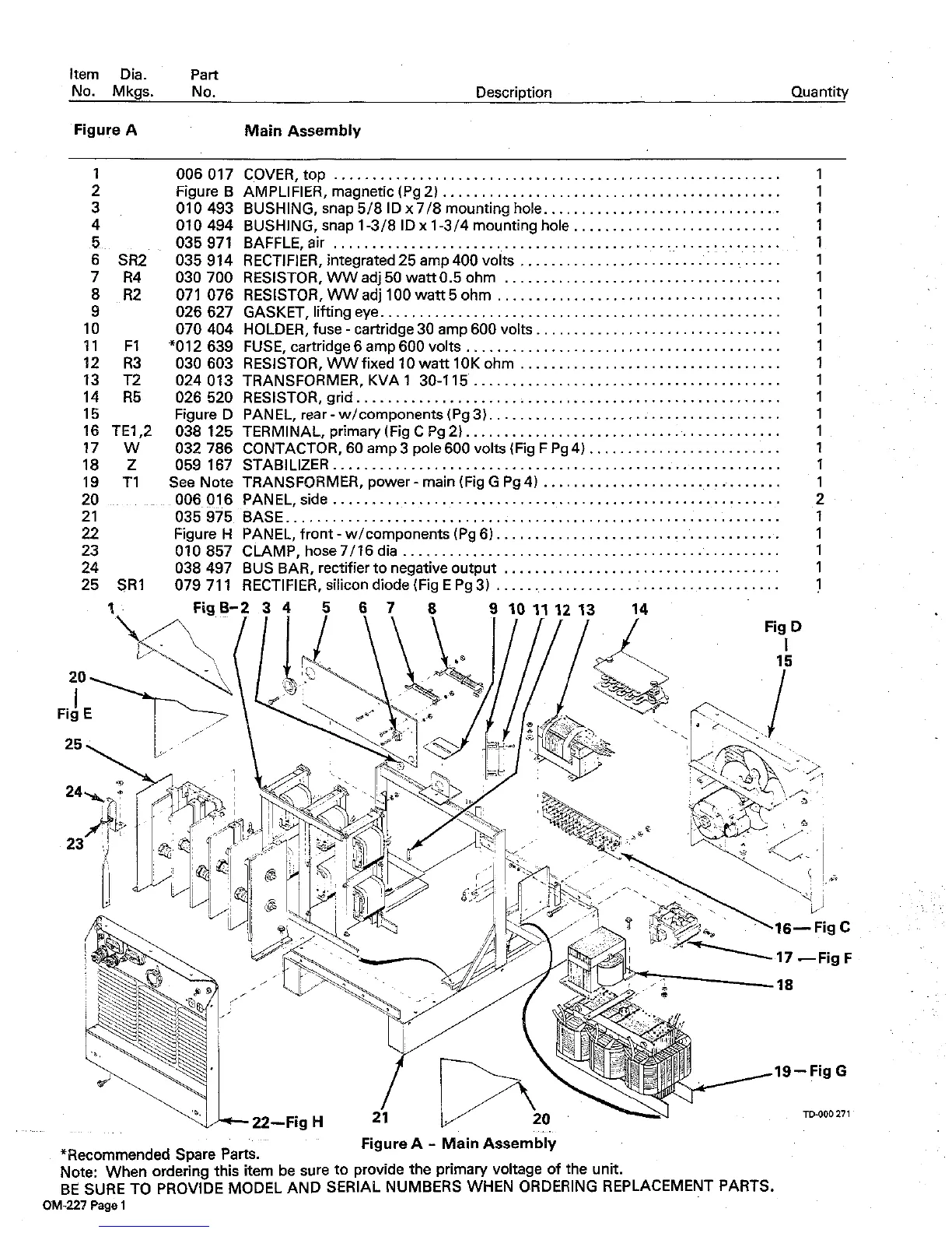
Miller Electric MP-45E - Main Assembly

Miller Electric MP-45E
34 pages
Print Icon
To Next Page IconTo Next Page
To Next Page IconTo Next Page
To Previous Page IconTo Previous Page
To Previous Page IconTo Previous Page
Loading...

Related product manuals