EasyManua.ls Logo

Minebea CSD-903-EX - Page 20

Minebea CSD-903-EX
226 pages
Print Icon
To Next Page IconTo Next Page
To Next Page IconTo Next Page
To Previous Page IconTo Previous Page
To Previous Page IconTo Previous Page
Loading...
4
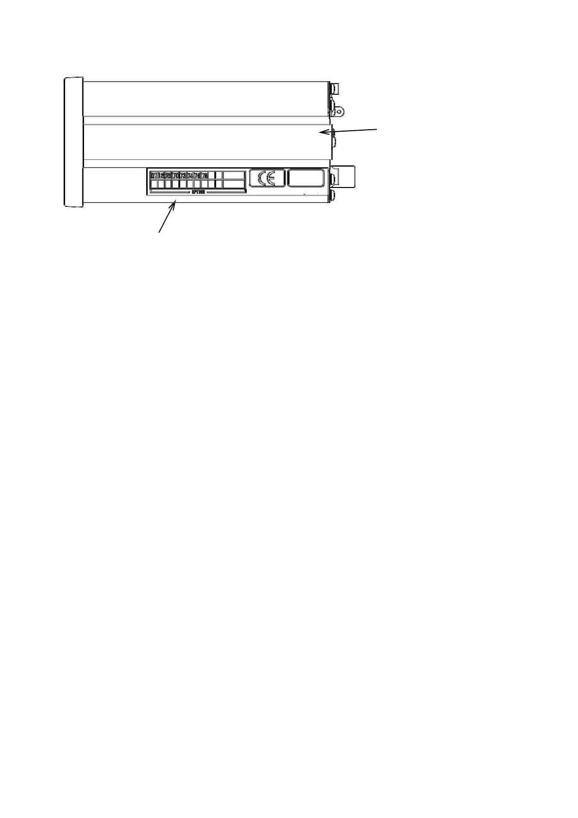
1-3. Side
(1) Model instructions seal
It shows a model number.
(2) Panel mounting metal
Use when CSD-903 is mounted to the control panel.
(2) Panel mounting metal
(1) Model instruction seal

Related product manuals