EasyManua.ls Logo

Mitsubishi MR-J4-20A - Page 133

Mitsubishi MR-J4-20A
640 pages
Print Icon
To Next Page IconTo Next Page
To Next Page IconTo Next Page
To Previous Page IconTo Previous Page
To Previous Page IconTo Previous Page
Loading...
3. SIGNALS AND WIRING
3 - 66
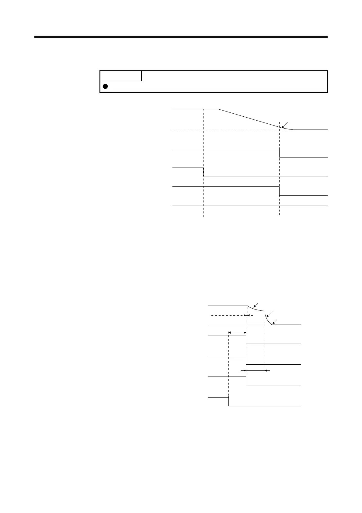
(b) Forced stop 2 on/off
POINT
In the torque control mode, the forced stop deceleration function is not available.
ON
ON
OFF
(Note 2)
Model speed command 0
and equal to or less than
zero speed
ON
OFF
OFF
EM2 (Forced stop 2)
MBR
(Electromagnetic
brake interlock)
ON (no alarm)
OFF (alarm)
Base circuit
(Energy supply to
the servo motor)
0 r/min
Servo motor speed
A
LM (Malfunction)
(Note 1)
Note 1. ON: Electromagnetic brake is not activated.
OFF: Electromagnetic brake has been activated.
2. The model speed command is a speed command generated in the servo amplifier for forced stop
deceleration of the servo motor.
(c) Alarm occurrence
The operation status during an alarm is the same as section 3.8.
(d) Both main and control circuit power supplies off
MBR
(Electromagnetic
brake interlock)
(Note 2)
ON
OFF
Base circuit
ON
OFF
Alarm
[AL.10 Undervoltage]
No alarm
Alarm
Approx. 10 ms
Dynamic brake
Dynamic brake
+ Electromagnetic brake
Electromagnetic brake
(Note 1)
Operation delay time of
the electromagnetic brake
Servo motor speed
ON
OFF
Main circuit
Control circuit
Power supply
0 r/min
Note 1. Variable according to the operation status.
2. ON: Electromagnetic brake is not activated.
OFF: Electromagnetic brake has been activated.

Table of Contents

Related product manuals