EasyManua.ls Logo

Mitsubishi NSB1107STTUW - OSD (On Screen Display) Functions; 4.1 How to Adjust the Screen

Mitsubishi NSB1107STTUW
24 pages
Print Icon
To Next Page IconTo Next Page
To Next Page IconTo Next Page
To Previous Page IconTo Previous Page
To Previous Page IconTo Previous Page
Loading...
- 14 -
4
4
OSD (On Screen Display)
FUNCTIONS
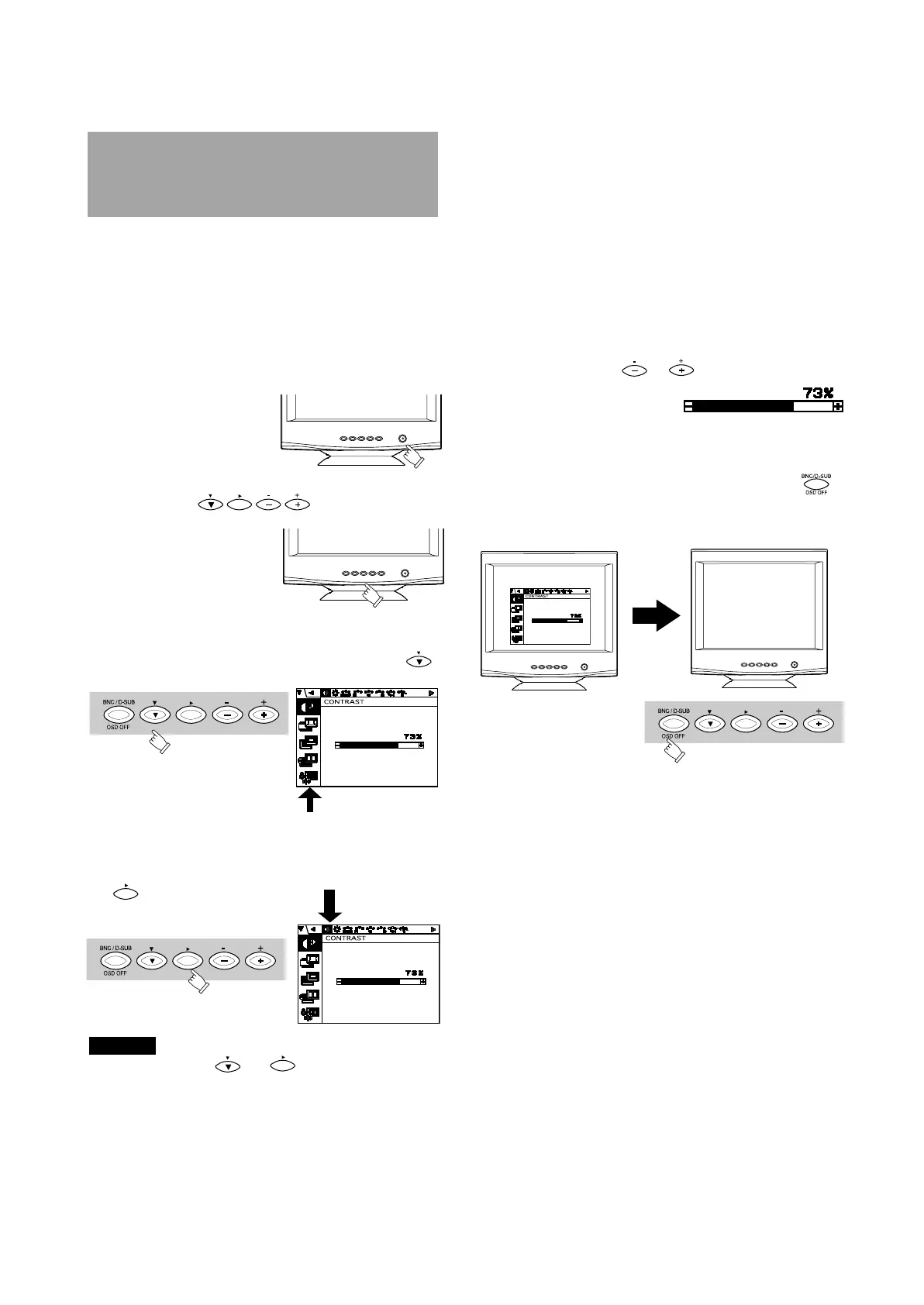
The monitor has an OSD(On Screen Display) function.
The following procedure shows how to adjust the screen
using the OSD function.
(1) Turn on the monitor.
(2) Press button to display the OSD
screen.
(3) Select the group icon on Main Menu by pressing .
(5)Adjust by pressing or button.
(6)If you don't press any button for about ten seconds,
the OSD screen will disappear.
The OSD can be turned off quickly by pressing
button.
When pressing both and buttons simultaneously,
moving direction of item selection becomes reverse.
NOTE
4.1 How to adjust the screen
Main Menu
Sub Menu
(4) Select the item icon on Sub Menu by pressing
button.

Related product manuals