EasyManua.ls Logo

Mitsubishi SRK12CR-S4 - Piping System

Mitsubishi SRK12CR-S4
118 pages
To Next Page IconTo Next Page
To Next Page IconTo Next Page
To Previous Page IconTo Previous Page
To Previous Page IconTo Previous Page
Loading...
-
40
-
'15 • SRK-T-171
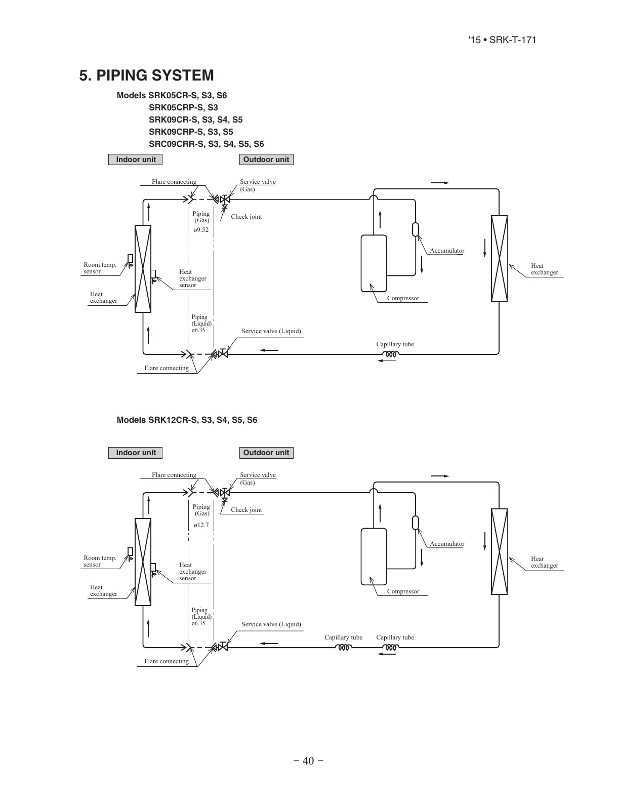
5. PIPING SYSTEM
Outdoor unitIndoor unit
Room temp.
sensor
Heat
exchanger
Flare connecting
Heat
exchanger
sensor
Piping
(Liquid)
ø6.35
Check joint
Service valve (Liquid)
Flare connecting
Heat
exchanger
Compressor
Accumulator
Service valve
(Gas)
Capillary tube
ø9.52
Piping
(Gas)
Outdoor unitIndoor unit
Room temp.
sensor
Heat
exchanger
Flare connecting
Heat
exchanger
sensor
Piping
(Liquid)
ø6.35
Check joint
Service valve (Liquid)
Flare connecting
Heat
exchanger
Compressor
Capillary tube
Accumulator
Service valve
(Gas)
Capillary tube
Piping
(Gas)
ø12.7
Models SRK05CR-S, S3, S6
SRK05CRP-S, S3
SRK09CR-S, S3, S4, S5
SRK09CRP-S, S3, S5
SRC09CRR-S, S3, S4, S5, S6
Models SRK12CR-S, S3, S4, S5, S6
All manuals and user guides at all-guides.com

Related product manuals