EasyManua.ls Logo

Moulinex studio MINID2SL - Voordat U Uw Vaatwasmachine Installeert

Moulinex studio MINID2SL
Print Icon
To Next Page IconTo Next Page
To Next Page IconTo Next Page
To Previous Page IconTo Previous Page
To Previous Page IconTo Previous Page
Loading...
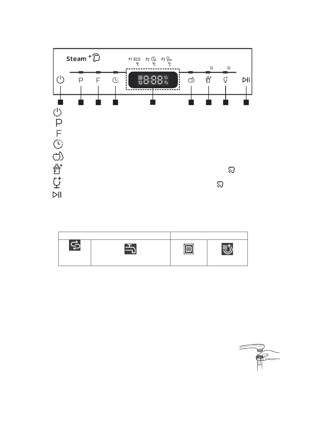
Bedieningspaneel
1. Aan/uit-knop
2. Programmaknop met controlelampje
3. Functieknop met controlelampje
4. Uitgestelde start knop met controlelampje
5. Fruit wasprogramma met controlelampje
6. Babyfles wasprogramma met controlelampje (stoom toevoegen )
7. Glas wasprogramma met controlelampje (stoom toevoegen )
8. Start/Pauze knop
9. Scherm
Om de programmaduur, uitgestelde starttijd, waterhardheid-instelling,
foutcodes en statussymbolen weer te geven
Statussymbolen
Functiesymbolen
Zout
bijvullen
Watertoevoer-waarschuwing
Opslag
Extra drogen
VOORDAT U UW VAATWASMACHINE INSTALLEERT
Controleer voordat u uw vaatwasmachine op de netvoeding aansluit of de spanning
op het typeplaatje van uw apparaat overeenstemt met de spanning bij u thuis.
Het apparaat moet geaard zijn. De fabrikant is niet verantwoordelijk voor schade die
ontstaat door het gebruik zonder aarding.
WAARSCHUWING: Sluit de elektrische stroom af voordat u uw vaatwasmachine
installeert.
Op de watervoorziening aansluiten
Sluit de toevoerslang van het koud water aan op een ¾ inch aansluiting
van schroefdraad voorzien en zorg ervoor dat deze goed op zijn plaats is
bevestigd. Als de waterleidingen nieuw zijn of gedurende een lange
periode niet werden gebruikt, laat het water stromen om ervoor te
zorgen dat het water schoon en vrij van onzuiverheden is. Dit is nodig om te voorkomen
dat de waterinlaat verstopt raakt en het apparaat schade oploopt.
OPMERKING: Als de meegeleverde slang niet op uw kraan past, koop een gepaste adapter
1
2
3
4
5
6
7
8
9
55
50
45
NL-4