EasyManua.ls Logo

MTD 500 - Page 20

MTD 500
32 pages
Print Icon
To Next Page IconTo Next Page
To Next Page IconTo Next Page
To Previous Page IconTo Previous Page
To Previous Page IconTo Previous Page
Loading...
I
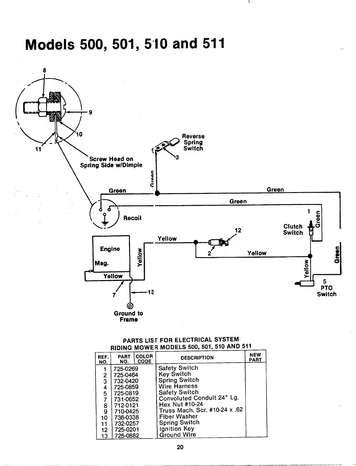
Models
500,
501,
510
and
511
8
Frame
PARTS
LIST
FOR
ELECTRICAL
SYSTEM
RIDING
MOWER
MODELS
500,
501,
510
AND
511
REF.
NO.
PART
NO.
COLOR
CODE
DESCRIPTION
NEW
PART
1
725-0269
Safety
Switch
2
725-0464
Key
Switch
3
732-0420
Spring
Switch
4
725-0859
Wire
Harness
5
725-0819
Safety
Switch
7
731-0652
Convoluted
Conduit
24"
Lg.
8
712-0121
Hex
Nut
#10-24
9
710-0425
Truss
Mach.
Scr.
#10-24
x
.62
10
736-0338
Fiber
Washer
11
732-0257
Spring
Switch
12
725-0201
Ignition
Key
13
725-0882
Ground
Wire
20

Related product manuals