EasyManua.ls Logo

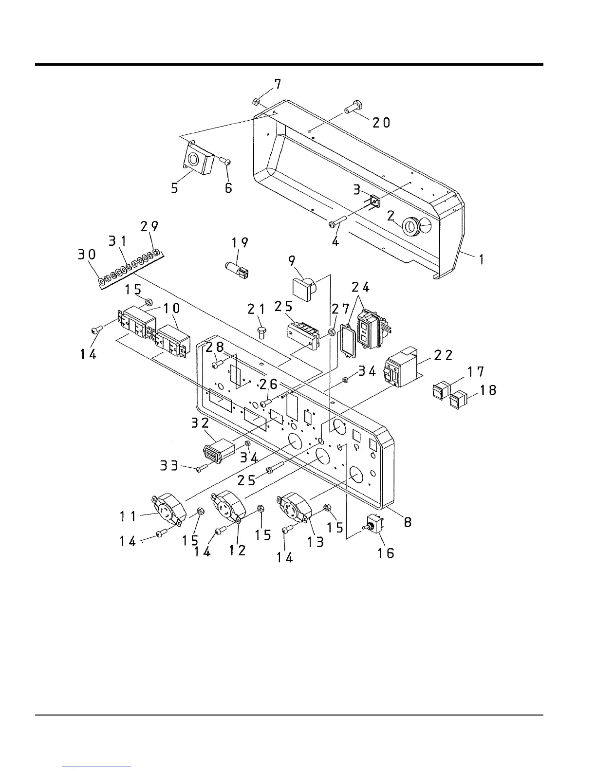
MULTIQUIP GA6HR - CONTROL BOX ASSEMBLY (GA6 HR); GA6 HR CONTROL BOX COMPONENTS

MULTIQUIP GA6HR
92 pages
Print Icon
To Next Page IconTo Next Page
To Next Page IconTo Next Page
To Previous Page IconTo Previous Page
To Previous Page IconTo Previous Page
Loading...
ga6HR/ga6HRS
GA6HR — CONTROL BOX ASSY.

Related product manuals