EasyManua.ls Logo

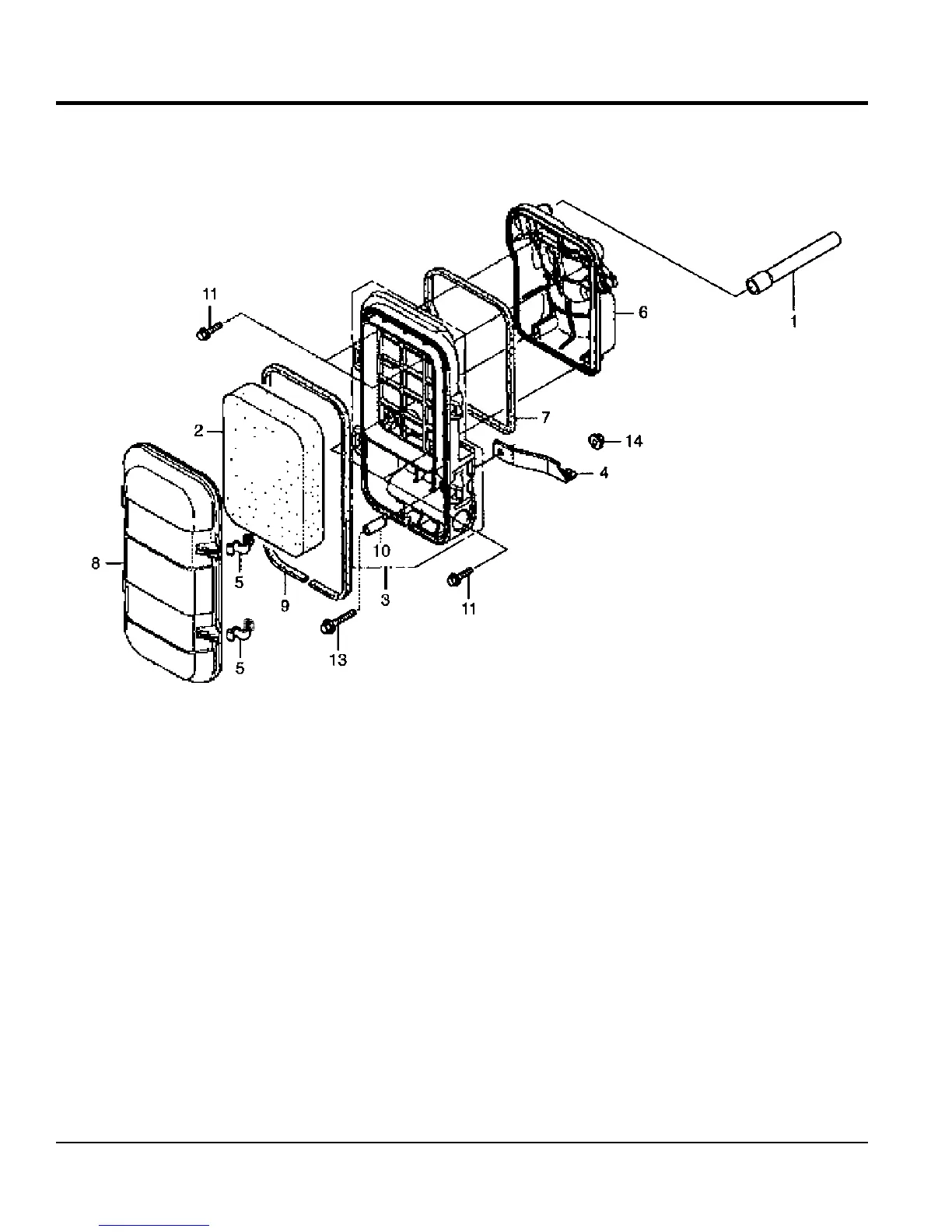
MULTIQUIP GA6HR - AIR CLEANER ASSEMBLY; AIR CLEANER ASSEMBLY DIAGRAM

MULTIQUIP GA6HR
92 pages
Print Icon
To Next Page IconTo Next Page
To Next Page IconTo Next Page
To Previous Page IconTo Previous Page
To Previous Page IconTo Previous Page
Loading...
ga6HR/ga6HRS
HONDA GX340RT2EDE2/EDN2 — AIR CLEANER ASSY.

Related product manuals