EasyManua.ls Logo

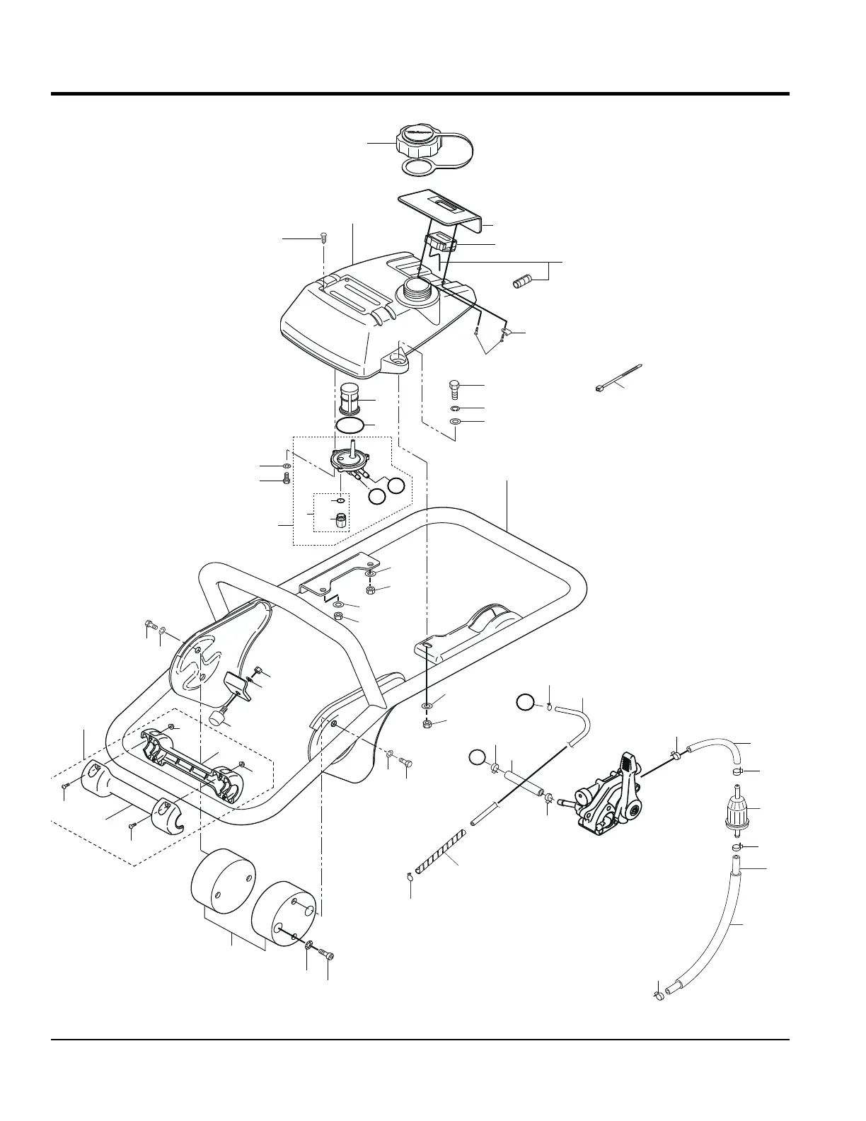
MULTIQUIP MTX60HD - Fuel Tank and Handle Assembly; Fuel Tank and Handle Component Diagram

MULTIQUIP MTX60HD
70 pages
Print Icon
To Next Page IconTo Next Page
To Next Page IconTo Next Page
To Previous Page IconTo Previous Page
To Previous Page IconTo Previous Page
Loading...
PAGE 34 — MTX60HD RAMMER • OPERATION AND PARTS MANUAL — REV. #3 (10/26/18)
FUEL TANK AND HANDLE ASSY
3
1
4-2
4-1
7
6
5
41
41
43
43
42
42
9
10
23
54
51
22
53
14
15
56
2-1
2-2
11
11-1
11-2
11-3
11
55
4-2
4-1
12
12
13
20
19
20
A
102
102
102
102
104
101
106
105
B
113
112
112
111
40
11
18
17
16
A
B
57
58
59