EasyManua.ls Logo

NAD 2100 - Packing Diagram; Protective Packaging Materials; Shipping Carton and Manual

NAD 2100
14 pages
Print Icon
To Previous Page IconTo Previous Page
To Previous Page IconTo Previous Page
Loading...
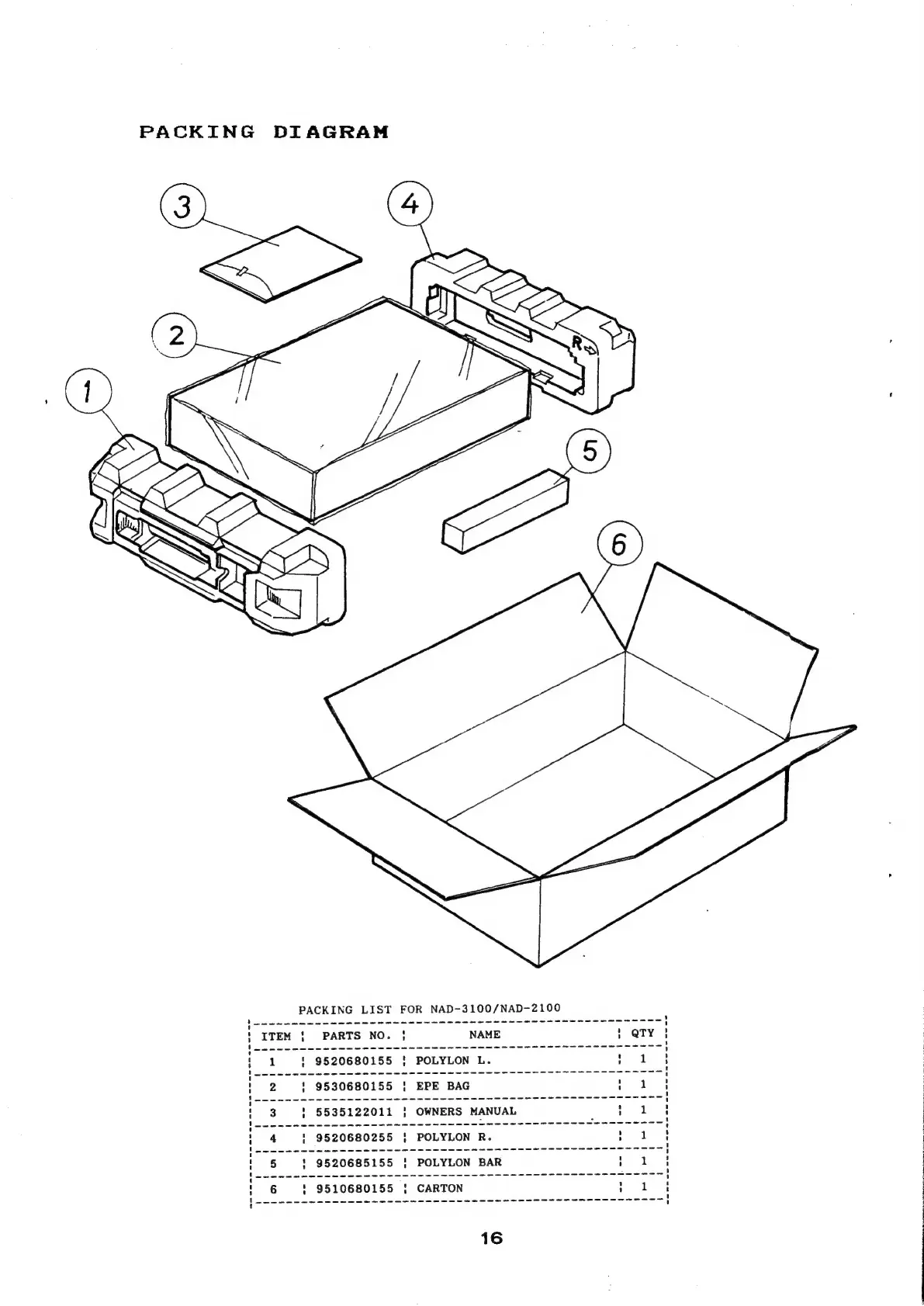
PACKING
DIAGRAM
2100
3100/NAD-
PACKING
LIST
FOR
NAD
CARTON
9510680155
6
16

Other manuals for NAD 2100

Related product manuals