EasyManua.ls Logo

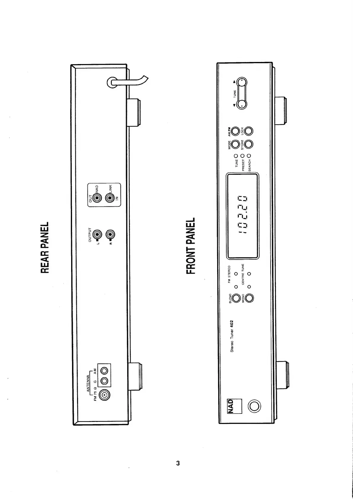
NAD 402 - Panel Layout; Rear Panel Layout; Front Panel Layout

NAD 402
20 pages
Print Icon
To Next Page IconTo Next Page
To Next Page IconTo Next Page
To Previous Page IconTo Previous Page
To Previous Page IconTo Previous Page
Loading...
©
©
oww
)
O
4001
aHO1s
©
4aSaud
3NNL
3HLN30
OQ°~
:
waWy
300W
eausisns
ane
ZObv
19UNL
081815
An
Wy
©
OSLW4
Le
VNNALNV
TANVd
dvd

Other manuals for NAD 402

Related product manuals