EasyManua.ls Logo

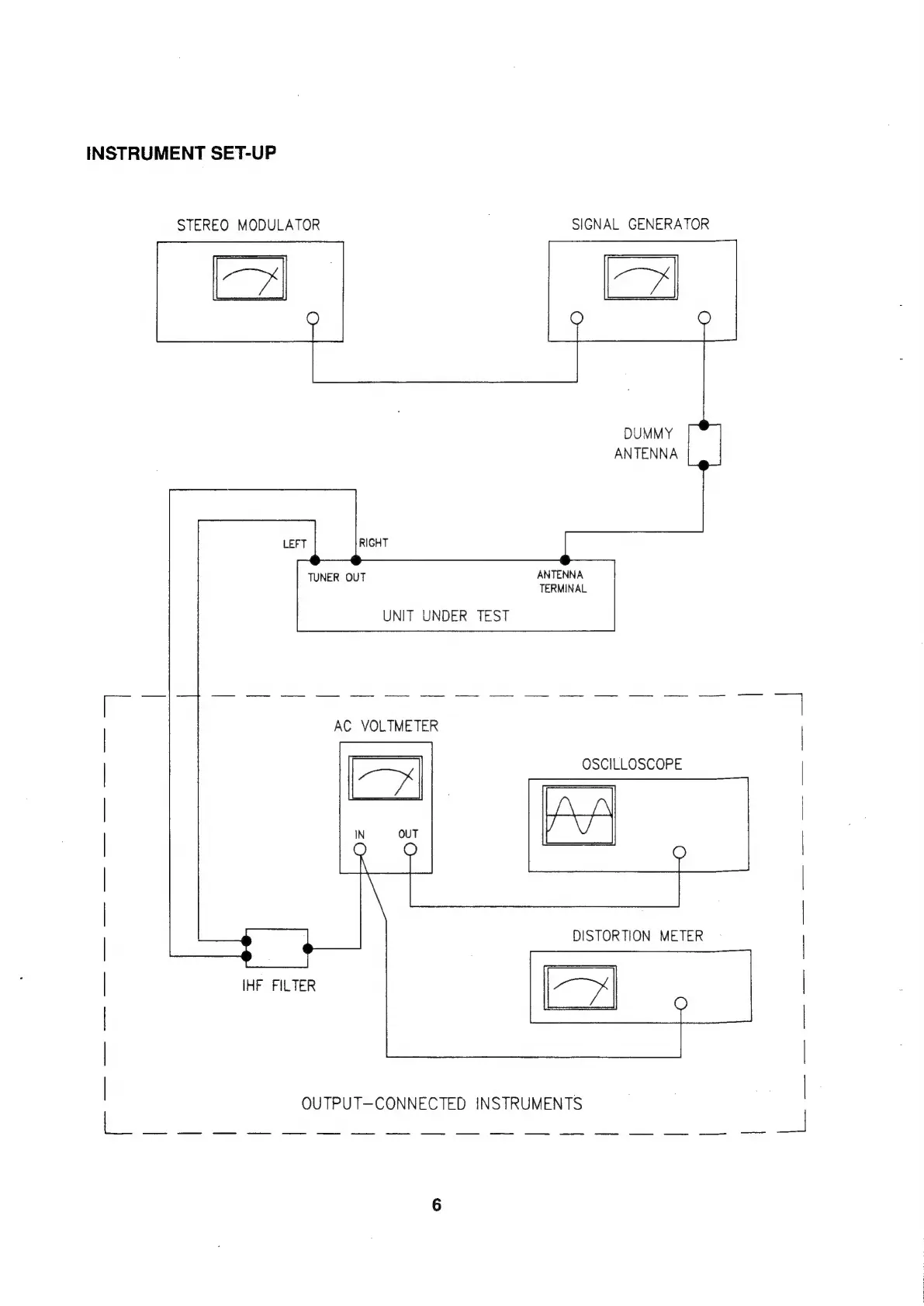
NAD 402 - Instrument Set-Up

NAD 402
20 pages
Print Icon
To Next Page IconTo Next Page
To Next Page IconTo Next Page
To Previous Page IconTo Previous Page
To Previous Page IconTo Previous Page
Loading...
INSTRUMENT
SET-UP
aa
STEREO
MODULATOR
SIGNAL
GENERATOR
DUMMY
ANTENNA
TUNER
OUT
ANTENNA
TERMINAL
UNIT
UNDER
TEST
OSCILLOSCOPE
IHF
FILTER
OUTPUT—CONNECTED
INSTRUMENTS

Other manuals for NAD 402

Related product manuals