EasyManua.ls Logo

NAD 6220 - Component Layout; Block Diagram

NAD 6220
14 pages
Print Icon
To Next Page IconTo Next Page
To Next Page IconTo Next Page
To Previous Page IconTo Previous Page
To Previous Page IconTo Previous Page
Loading...
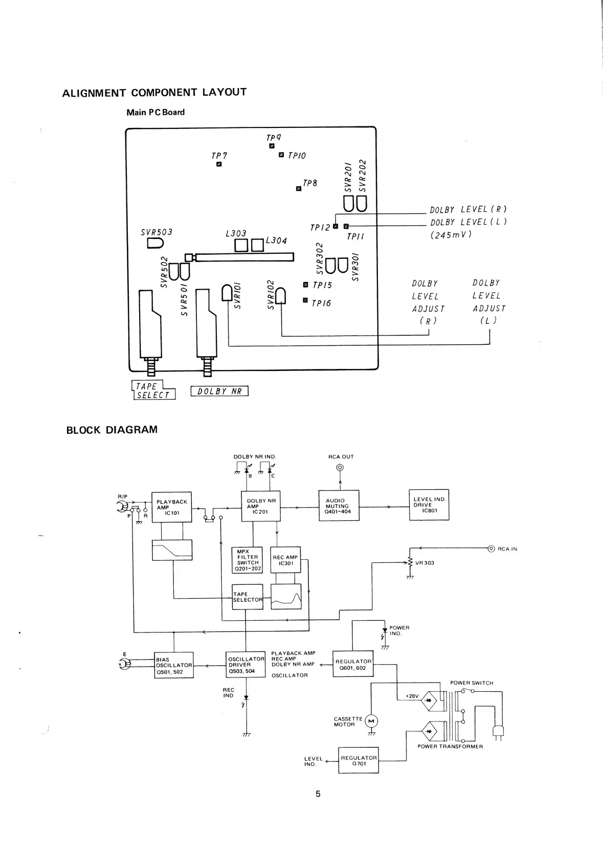
ALIGNMENT
COMPONENT
LAYOUT
Main
PC
Board
TPY
TP7
TP10
a
P8
DOLBY
LEVEL
(R)
DOLBY
LEVEL(L)
oye:
(245mV)
[>
“Agee
2
TPIl
“UU
va)
DOLBY
DOLBY
LEVEL
LEVEL
ADJUST
ADJUST
(R)
CE)
DOLBY
Mh
BLOCK
DIAGRAM
DOLBY
NR
IND.
RCA OUT
~
Po
R/P
a
PLAYBACK
DOLBY
NR
AUDIO
LEVEL
IND.
I
MUTING
DRIVE
Q401~404
1C801
RCA
IN
FILTER
REC
AMP
Q201~202
E
PLAYBACK
AMP
ae
BIAS
OSCILLATOR}
REC
AMP
oa
OSCILLATOR
DRIVER
DOLBY
NR
AMP
REGULATOR
Q501,
502
Q503,
504
Q601,
602
OSCILLATOR
POWER
SWITCH
REC
IND
gy
CASSETTE
MOTOR
POWER
TRANSFORMER
LEVEL
REGULATOR
IND.
Q701
Specs
¢
aleunnsbasannipecinn

Related product manuals