EasyManua.ls Logo

NANO D2 - Service Schedule and Breakdown

NANO D2
29 pages
Print Icon
To Next Page IconTo Next Page
To Next Page IconTo Next Page
To Previous Page IconTo Previous Page
To Previous Page IconTo Previous Page
Loading...
18
D3
heatless desiccant air dryer
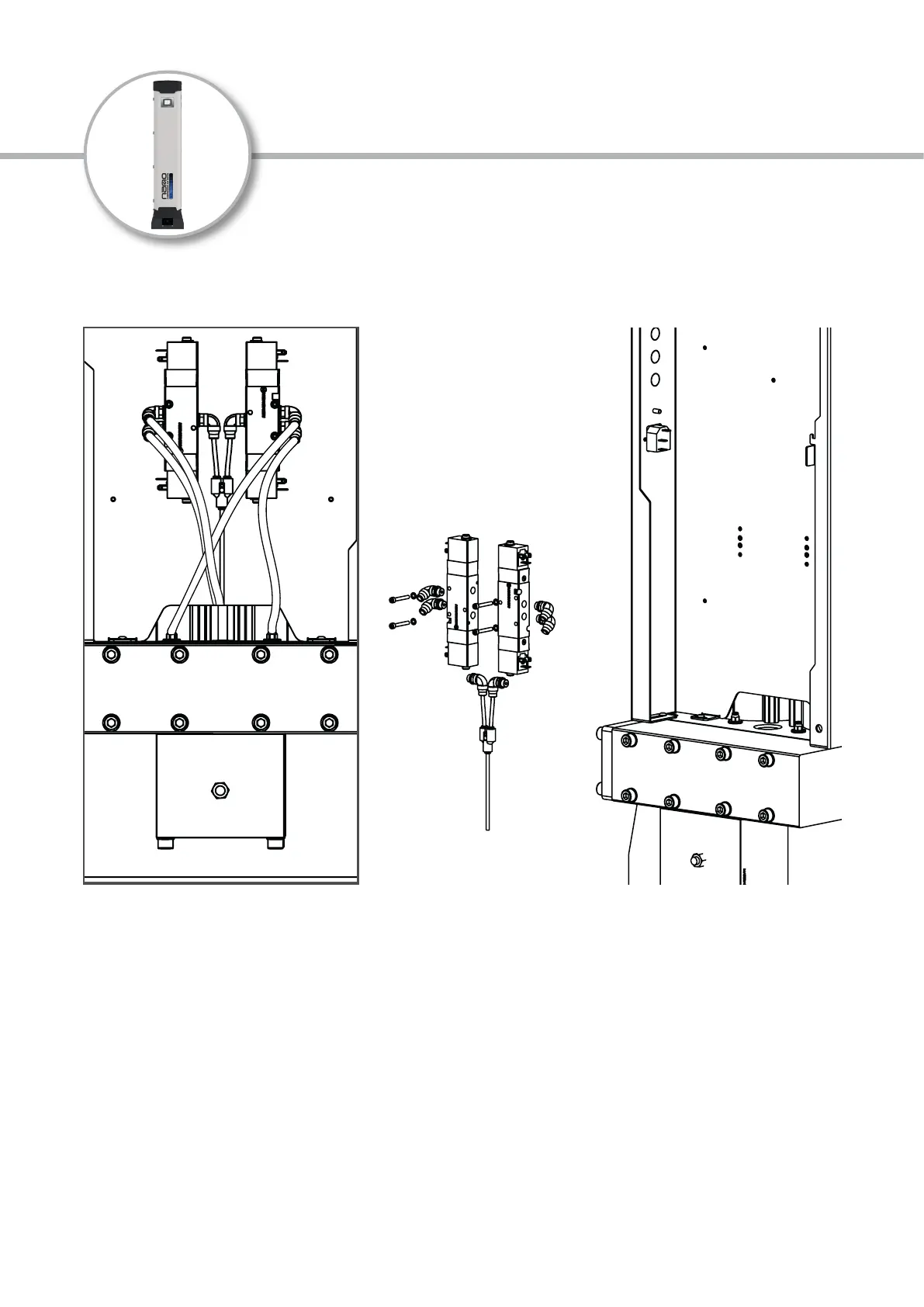
4.4 service ‘C’ instructions - pilot valves
replacing pilot valves - (Every 4 years or 24,000 hours)
1. Ensure the dryer is shut down and fully depressurised (See page 8, section 4.1)
2. Disconnect and note conguration of the tubing, cables and variation between the pilot valves
(Normally Open and/or Normally Closed)
3. Remove the 4 screws to release the pilot valve assembly
4. Remove the elbows and joints
5. Ret the elbows and joints with thread sealing material to the new pilot valve if required
6. Ret the pilot valve assembly and tubing
7. Start up the Dryer (page 8)

Other manuals for NANO D2

Related product manuals