EasyManua.ls Logo

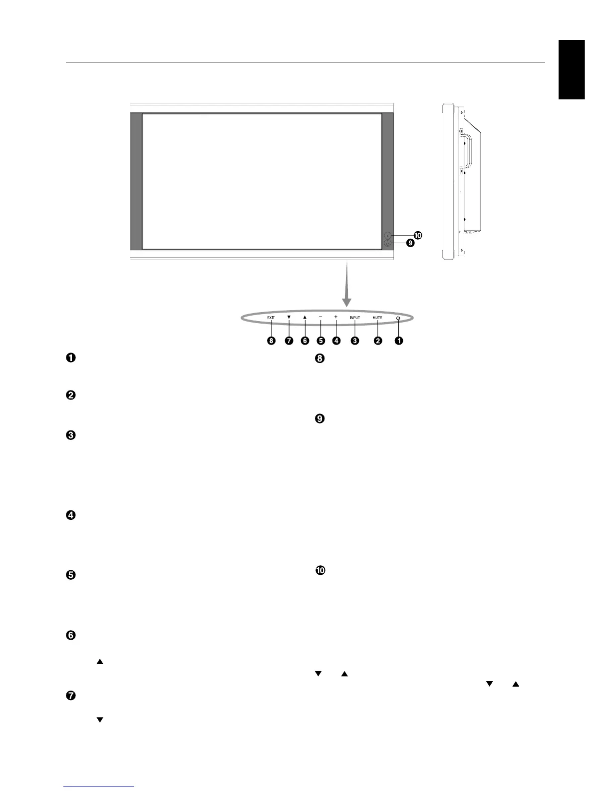
NEC MULTEOS M401 - Parts Name and Functions; Control Panel

NEC MULTEOS M401
41 pages
Print Icon
To Next Page IconTo Next Page
To Next Page IconTo Next Page
To Previous Page IconTo Previous Page
To Previous Page IconTo Previous Page
Loading...
English-7
English
EXIT button
Activates the OSD menu when the OSD menu is turned-off.
Acts as EXIT button within the OSD to move to previous
menu.
Remote control sensor and Power Indicator
Receives the signal from the remote control (when using the
wireless remote control). See also page 10.
Glows green when the LCD monitor is in active mode*.
Glows red when the LCD is in POWER OFF (ECO standby)
mode. Glows amber when the LCD is in POWER OFF
(standby) mode. Blinks amber when the monitor is in Power
Save Mode. Green and Amber blink alternately while in
Power Standby mode with the “SCHEDULE SETTINGS”
function enabled. When a component failure is detected
within the monitor, the indicator will blink red.
* If “OFF” is selected in “POWER INDICATOR” (see page 23),
LED will not light when the LCD monitor is in active mode.
AMBIENT LIGHT SENSOR
Detects the level of ambient light, allowing the monitor to
make automatic adjustments to the brightness setting,
resulting in a more comfortable viewing experience. Do not
cover this sensor. See page 18.
Control Key Lock Mode
This control completely locks out access to all Control Key
functions. To activate the control key lock function, press both
and and hold down simultaneously for more than
3 seconds. To resume user mode, press both and and
hold simultaneously for more than 3 seconds.
*: The product you purchased may not have this feature.
POWER button
Switches the power on/off. See also page 16.
MUTE button
Switches the audio mute ON/OFF.
INPUT button
Acts as SET button within OSD menu. (Toggle switches
between [DVI], [DPORT], [VGA], [RGB/HV], [HDMI],
[DVD/HD1], [DVD/HD2], [SCART], [VIDEO1], [VIDEO2],
[S-VIDEO] or [TV]*). These are available input only,
shown as their factory preset name.
PLUS button
Acts as (+) button to increase the adjustment with OSD menu.
Increases the audio output level when the OSD menu is
turned off.
MINUS button
Acts as (-) button to decrease the adjustment with OSD menu.
Decreases the audio output level when the OSD menu is
turned off.
UP button
Activates the OSD menu when the OSD menu is turned-off.
Acts as button to move the highlighted area up to select
adjustment items within OSD menu.
DOWN button
Activates the OSD menu when the OSD menu is turned-off.
Acts as
button to move the highlighted area down to
select adjustment items within OSD menu.
Control Panel
Parts Name and Functions

Other manuals for NEC MULTEOS M401

Related product manuals