EasyManua.ls Logo

NEC MultiSync ME431 - Page 251

NEC MultiSync ME431
328 pages
To Next Page IconTo Next Page
To Next Page IconTo Next Page
To Previous Page IconTo Previous Page
To Previous Page IconTo Previous Page
Loading...

SV
Svenska
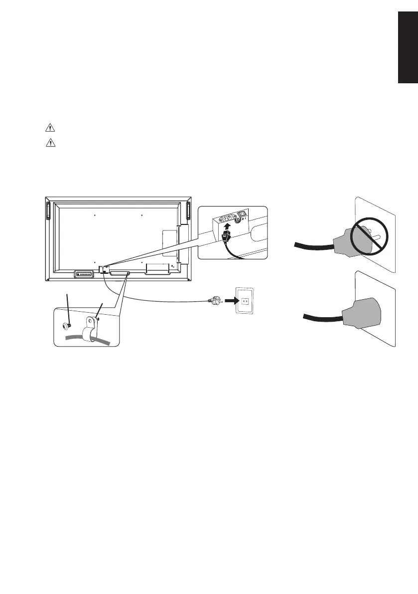
Anslutning till en TV*
1




 

VARNING: Se 
VAR FÖRSIKTIG: Se 
  
 




VAR FÖRSIKTIG: 






Other manuals for NEC MultiSync ME431

Related product manuals