EasyManua.ls Logo

NEC PASOLINK+ - Page 10

NEC PASOLINK+
34 pages
Print Icon
To Next Page IconTo Next Page
To Next Page IconTo Next Page
To Previous Page IconTo Previous Page
To Previous Page IconTo Previous Page
Loading...
MTD-PL-028/141005 PASOLINK
+
155 MB 1+0/1+1 SYSTEM
- 5 -
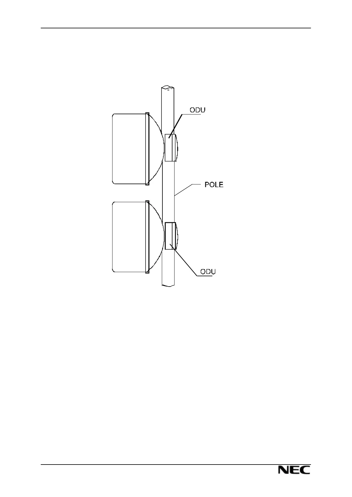
Figure 3(b). Ways to Mount the 1 + 1 PASOLINK
+
using two Antennas

Related product manuals