EasyManua.ls Logo

NEO TOOLS 75-201 - Page 18

NEO TOOLS 75-201
Print Icon
To Next Page IconTo Next Page
To Next Page IconTo Next Page
To Previous Page IconTo Previous Page
To Previous Page IconTo Previous Page
Loading...
длина первой стороны кубоида
длина второй стороны кубоида, длина
третьей стороны кубоида, объем кубоида.
ИЗМЕРЕНИЕ ВЫСОТЫ ПО ТЕОРЕМЕ ПИФАГОРА
После включения прибора кнопкой CLEAR (7) выберите
функцию измерения высоты с помощью кнопки
переключения функций (2). Функция измерения высоты
предназначена для определения вертикальной высоты по двум
промежуточным измерениям. Для определения высоты
необходимо измерить верхний край треугольника, который
мигает на экране дальномера. Измерение производится
нажатием кнопки MEASURE (1). Затем таким же образом
измерьте нижний край треугольника. На дисплее
последовательно отображаются:
длина первой стороны треугольника
(1), длина второй стороны
треугольника (2)
высота - расстояние между точками
измерения (отмечены на рисунке толстой стрелкой).
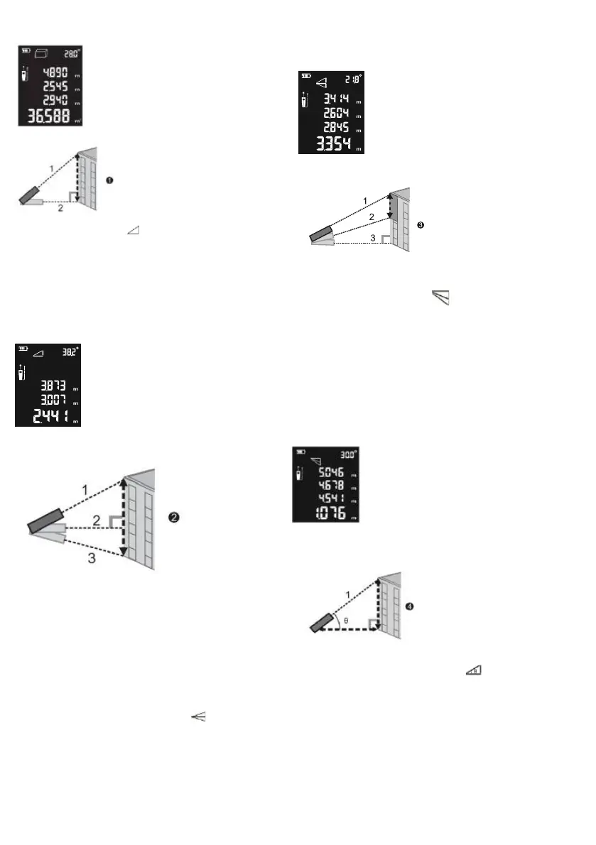
ТРЕХТОЧЕЧНОЕ ИЗМЕРЕНИЕ ВЫСОТЫ (1)
После включения прибора с помощью кнопки CLEAR (7)
выберите функцию трехточечного измерения высоты.
Использование кнопки смены функций (2). Функция измерения
высоты (1) предназначена для определения высоты по
вертикали из трех промежуточных измерений (где второе
измерение производится по горизонтали). Для определения
высоты измерьте верхний край треугольника, который мигает на
экране дальномера. Измерение производится нажатием кнопки
измерения MEAS (1). Затем аналогичным образом измерьте
горизонтальный край треугольника и нижний край треугольника.
На дисплее последовательно отображаются:
длина верхней стороны треугольника
(1), длина горизонтальной стороны
треугольника (2), длина нижней
стороны треугольника (3),
высота - расстояние между точками
измерения 1 - 3 (отмечены на рисунке
толстой стрелкой).
ТРЕХТОЧЕЧНОЕ ИЗМЕРЕНИЕ ВЫСОТЫ (2)
После включения прибора с помощью кнопки CLEAR (7)
выберите функцию
трехточечное измерение высоты с помощью кнопки изменения
функции (2). Функция измерения высоты (2) предназначена для
определения вертикальной высоты между 1-й и 2-й точками
измерения на основе трех промежуточных измерений (при этом
третье измерение производится по горизонтали). Для
определения высоты необходимо измерить верхний край
треугольника, который мигает на экране дальномера.
Измерение производится нажатием кнопки измерения MEAS (1).
Затем таким же образом измерьте следующий, средний участок
и нижний, горизонтальный край треугольника. На дисплее
последовательно отображаются:
длина верхней стороны треугольника (1),
длина центрального измерительного
участка (2), длина нижней,
горизонтальной стороны треугольника
(3),
высота - расстояние между точками
измерения 1-2 (отмечены на рисунке
толстой стрелкой).
АВТОМАТИЧЕСКОЕ ИЗМЕРЕНИЕ РАССТОЯНИЯ
После включения прибора с помощью клавиши CLEAR (7)
выберите функцию измерения расстояния с помощью
клавиши изменения функции (2). Функция измерения
расстояния предназначена для определения расстояния
(высоты) по результатам одного измерения. Измерьте
расстояние по диагонали между искомым расстоянием и
высотой, нажав кнопку измерения MEAS (1). На основании этого
расстояния и угла, под которым дальномер его измерил,
автоматически определятся высота (вертикальная) и
расстояние (горизонтальное).
На дисплее будут последовательно отображаться: