EasyManua.ls Logo

NEO TOOLS 75-201 - Page 22

NEO TOOLS 75-201
Print Icon
To Next Page IconTo Next Page
To Next Page IconTo Next Page
To Previous Page IconTo Previous Page
To Previous Page IconTo Previous Page
Loading...
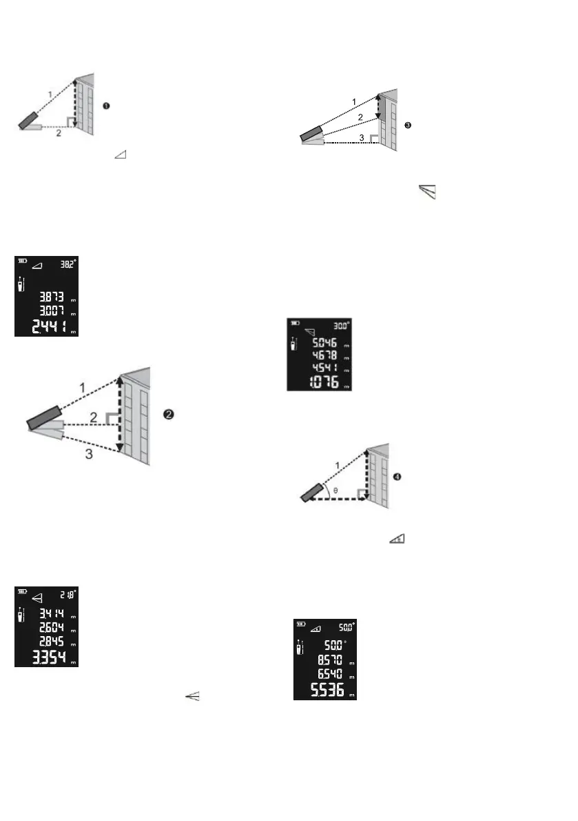
Miután a készüléket a CLEAR gombbal (7) bekapcsolta, válassza ki
a magasságmérési funkciót a funkcióváltó gombbal (2). A
magasságmérési funkció célja a függőleges magasság
meghatározása két közbenső mérésből. A magasság
meghatározásához mérje meg a távolságmérő képernyőjén villogó
háromszög felső szélét. A mérést a MEASURE gomb (1)
megnyomásával végezze el. Ezután mérje meg a háromszög alsó
szélét ugyanígy. A kijelzőn egymás után jelenik meg:
a háromszög első oldalának (1)
hossza, a háromszög második
oldalának (2) hossza
magasság - a mérési pontok közötti távolság (a
fenti ábrán vastag nyíllal jelölve).
HÁROMPONTOS MAGASSÁGMÉRÉS (1)
A készülék bekapcsolása után a CLEAR gombbal (7) válassza ki a
hárompontos magasságmérés funkciót.
A funkcióváltó gomb (2) használatával. A magasságmérési funkció
(1) a függőleges magasság meghatározására szolgál három
közbenső mérésből (ahol a második mérés vízszintesen történik). A
magasság meghatározásához mérje meg a távolságmérő
képernyőjén villogó háromszög felső szélét. A mérést a MEAS
mérés gomb (1) megnyomásával végezze el. Ezután mérje meg a
háromszög vízszintes szélét és a háromszög alsó szélét ugyanilyen
módon. A kijelzőn egymás után jelenik meg:
a háromszög felső oldalának hossza
(1), a háromszög vízszintes oldalának
hossza (2), a háromszög alsó oldalának
hossza (3),
magasság - az 1-3. mérési pontok közötti távolság (a fenti ábrán
vastag nyíllal jelölve).
HÁROMPONTOS MAGASSÁGMÉRÉS (2)
A készülék CLEAR gombbal (7) történő bekapcsolása után válassza
ki a következő funkciót
hárompontos magasságmérés a funkcióváltó gomb (2)
segítségével. A magasságmérési funkció (2) az 1. és 2. mérési pont
közötti függőleges magasság meghatározására szolgál három
közbenső mérés alapján (ahol a harmadik mérés vízszintesen
történik). A magasság meghatározásához mérje meg a
távolságmérő képernyőjén villogó háromszög felső szélét. A mérést
a MEAS mérés gomb (1) megnyomásával végezze el. Ezután mérje
meg a következő, középső részt és a háromszög alsó, vízszintes
szélét ugyanígy. A kijelzőn egymás után jelenik meg:
a háromszög felső oldalának hossza (1), a
középső mérőszakasz hossza (2), a
háromszög alsó, vízszintes oldalának
hossza (3),
magasság - az 1-2 mérési pontok közötti
távolság (a fenti ábrán vastag nyíllal
jelölve).
AUTOMATIKUS TÁVOLSÁGMÉRÉS
Miután a készüléket a CLEAR billentyűvel (7) bekapcsolta, válassza
ki a távolságmérési funkciót a funkcióváltó billentyűvel (2). A
távolságmérési funkció a távolság (magasság) meghatározására
szolgál egyetlen mérésből. Mérje meg a keresett távolság és a
magasság közötti átlós távolságot a MEAS mérőgomb (1)
megnyomásával. E távolság és a távolságmérő által mért szög
alapján automatikusan meghatározásra kerül a magasság
(függőleges) és a távolság (vízszintes).
A kijelzőn egymás után jelenik meg:
mért távolság, magasság,
távolság.
AUTOMATIKUS MAGASSÁGMÉRÉS