EasyManua.ls Logo

Nexgrill 720-0786A - Instrucciones de Encendido

Nexgrill 720-0786A
48 pages
Print Icon
To Next Page IconTo Next Page
To Next Page IconTo Next Page
To Previous Page IconTo Previous Page
To Previous Page IconTo Previous Page
Loading...
Instrucciones de encendido
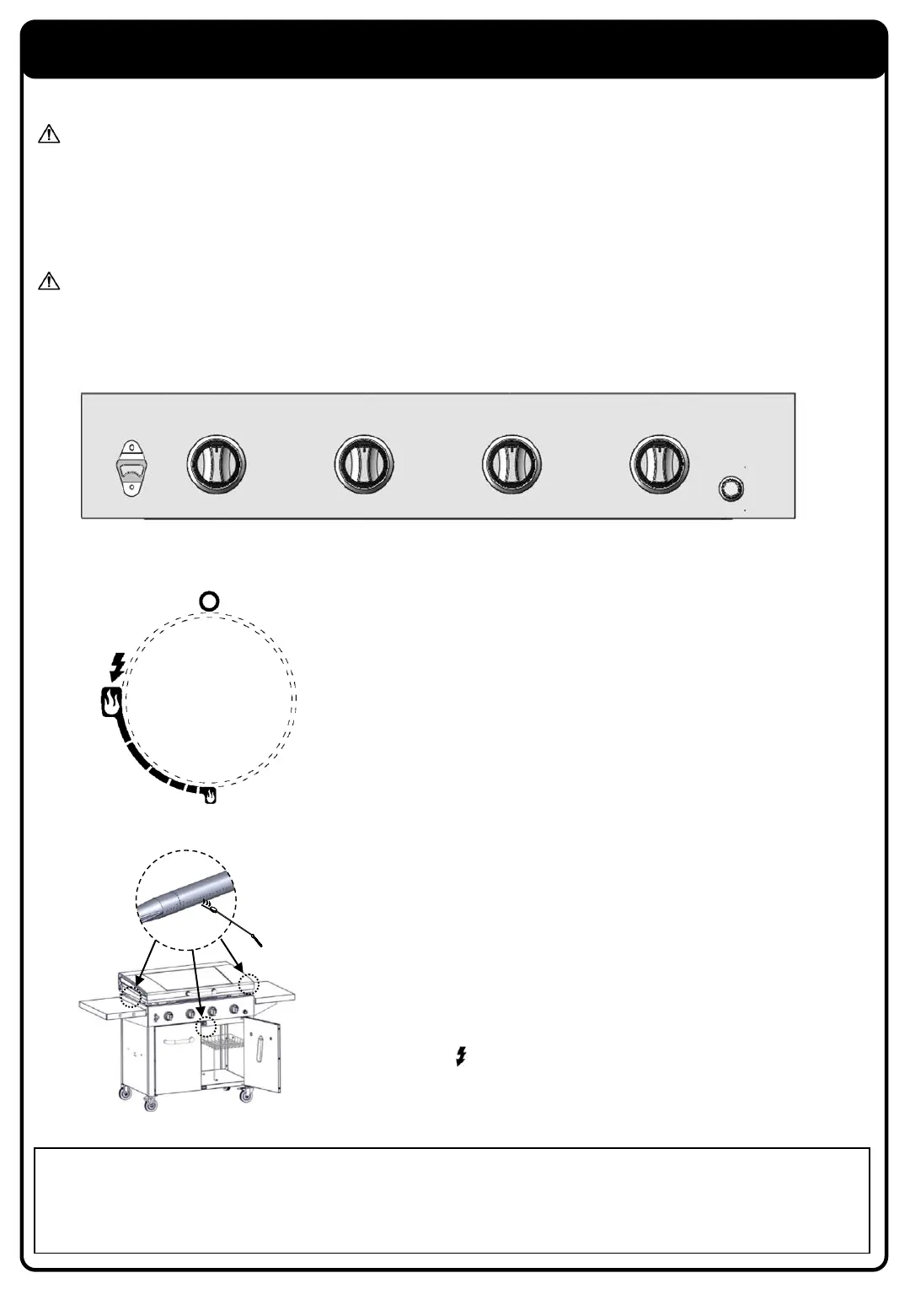
ENCENDIDO CON UN CERILLO
1. Si el quemador no se enciende después de varios intentos, entonces
puede encender el quemador con un cerillo; antes de utilizar el cerillo,
deje pasar 5 minutos para que se disipe el gas acumulado.
2. Sujete un cerillo de papel en un extremo de la varilla de encendido
3. Encendido con un cerillo.
4. Sostenga la varilla de encendido e inserte el cerillo encendido junto a
los puertos del quemador o la pieza de cerámica.
5. Presione y gire la perilla de control que corresponda a la posición
de máximo .
6. El quemador debe encenderse de inmediato.
Cada unidad del quemador se ajusta antes de su envío; Sin embargo, las variaciones en el suministro de gas
local pueden realizar pequeños ajustes necesarios.
No intente encender la parrilla si hubiera olor a gas. Para obtener asistencia comuníquese al 1-800-913-8999.
Verifique todas las conexiones de gas antes de cada uso.
Nota: Retire todo el envoltorio, incluyendo las correas, antes de usar la plancha
ADVERTENCIA: ¡IMPORTANTE ANTES DE ENCENDERLA!
Inspeccione la manguera del suministro de gas antes de abrir el paso del gas (ON). Si hubiera evidencias de cortes, desgaste o abrasión,
debe reemplazarla antes de usar la parrilla. No utilice la parrilla si hubiera olor a gas. Sólo debe utilizar el regulador de presión y el
ensamble de la manguera que vienen con la unidad.
Jamás reemplace los ensambles de los reguladores y de la manguera por otros que no sean los que vienen con la parrilla. Si es necesario
cambiarlos, póngase en contacto con el fabricante para realizar el cambio adecuado. El cambio debe ser aquel que se especifica en el
manual.
ADVERTENCIA: Siempre mantenga su rostro y su cuerpo tan alejado como pueda del quemador al encenderlo.
USO GENERAL DE LA PARRILLA Y EL ASADOR
Cada quemador principal tiene una tolerancia de 10,000 BTU/hr. Los quemadores principales de la parrilla comprenden toda el área de
cocción y cuentan con un puerto lateral para minimizar el bloqueo causado por la caída de grasa y residuos. Las perillas de encendido
están ubicadas en la parte inferior del panel de válvulas. Cada encendedor rotatorio está rotulado en el panel de control.
QUEMADOR PRINCIPAL
quemador
principal
ENCENDIDO DEL quemador PRINCIPAL
1.Encienda la válvula del tanque de gas.
2.Empuje y gire la perilla de control de hornilla ah correspondiente
mientras mantiene pulsado el botón de encendido electrónico para
encender el quemador.
3.una vez encendido el quemador, suelte la perilla y botón de
encendido electrónico.
4.Si la hornilla no se enciende, gire la perilla a O y repita el
procedimiento de encendido.
35

Other manuals for Nexgrill 720-0786A

Related product manuals