EasyManua.ls Logo

Nice Pro-H - Section C: Full Feature Logic Board - Part 2; 3-Phase Motor Direction Correction; Limit Switch Adjustment Procedures; External Push-Button Connection

Nice Pro-H
44 pages
Print Icon
To Next Page IconTo Next Page
To Next Page IconTo Next Page
To Previous Page IconTo Previous Page
To Previous Page IconTo Previous Page
Loading...

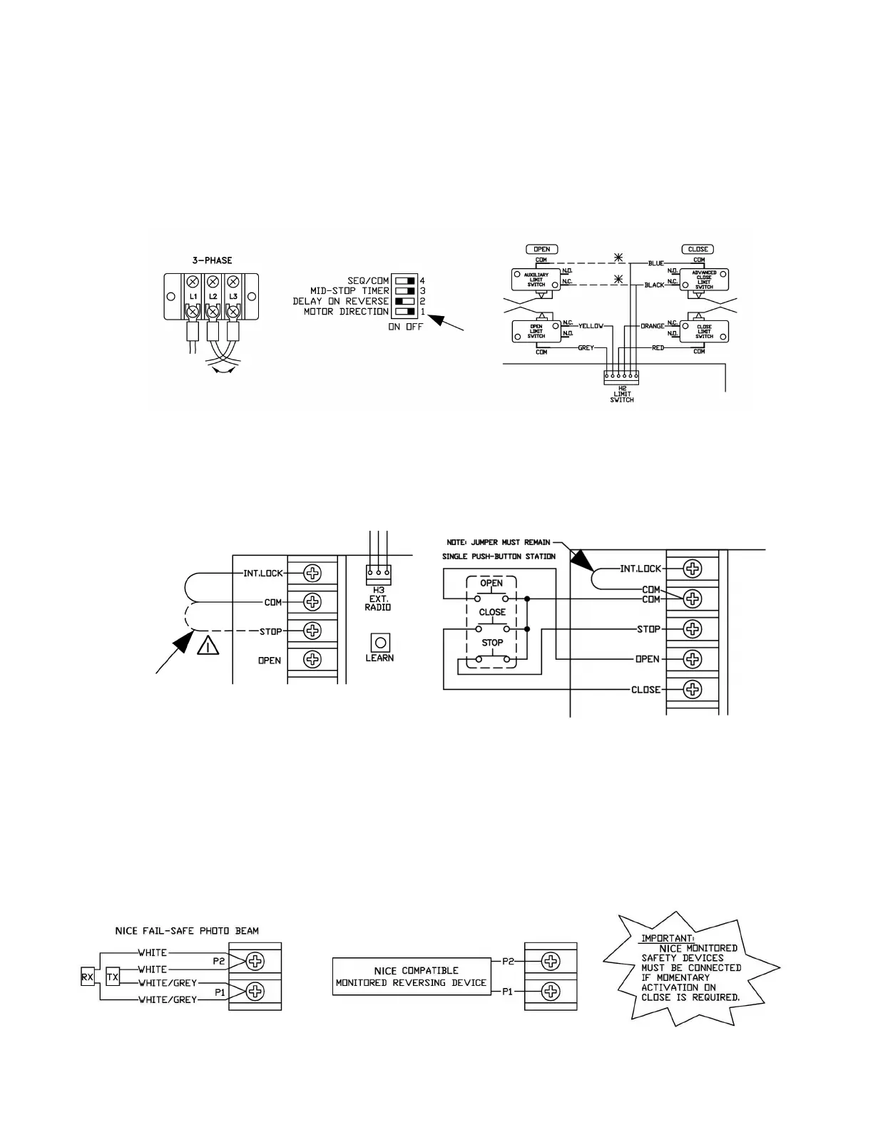
or -phase operators If door moves in wrong direction, turn off incoming power and reverse any two of the three
incoming power supply leads to correct rotation. ress the on board open button again. If door is going in the correct
open direction, activate the open limit switch to ensure door stops. If door does not stop, turn off incoming power and
interchange any two incoming power lines once again and slide dipswitch to reverse motor direction. If motor
direction is reversed, the open and close limit switches are automatically reversed. owever, the advanced close limit
switch needs to be manually changed. To do this, disconnect the wires from the advanced limit switch and re-
connect to the auxiliary limit switch provided.
Note Ensure that when the on-board open button is depressed and the door moves in the correct open
direction that activation of the open limit switch illuminates the EN IMIT .E. and stops the door.
IMIT SITC ASTMENTS
nce the motor rotation and limit cam direction have been verified, adust the limit cam settings. lease note that
when each limit switch is activated the corresponding E will light up. efer to operator installation manual for
complete limit switch adustment instructions.
CNNECTIN  ETENA CS S
Connect CS S as shown in diagram.
Note umper  must be removed after the external CS S has been installed.
AISAE EATE
A safety device failsafe feature is built into the logic board. The logic board has provisions to connect one primary
monitored safety device as well as or more secondary non-monitored safety devices.
rimary monitored safety device
Nice monitored failsafe photo beams or Nice compatible monitored failsafe devices must be connected to
terminalsandas primary monitored safety device. rimary monitored safety device must be connected if
momentary activation on close is reuired in , T and TS modes. If it is not connected in , T and Ts modes,
door can only be closed by constant pressure on close and if constant pressure is removed before door reaches full
close position, door reverses to full open. Note nly one monitored failsafe device can be connected to terminals
 and .

Related product manuals