EasyManua.ls Logo

Nikko Gamma I - Schematic Diagram

Default Icon
22 pages
Print Icon
To Previous Page IconTo Previous Page
To Previous Page IconTo Previous Page
Loading...
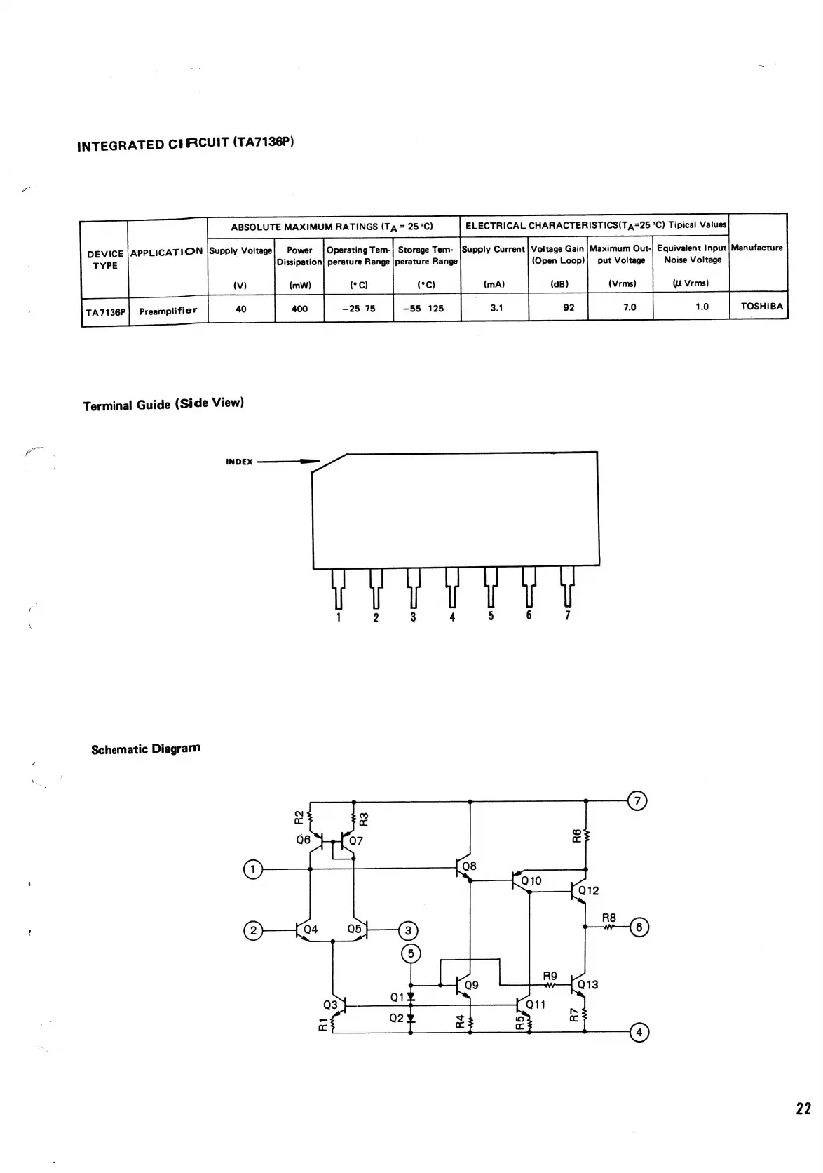
INTEGRATED
CIRCUIT
(TA7136P)
ABSOLUTE
MAXIMUM
RATINGS
(Ta
=
25°C)
ELECTRICAL
CHARACTERISTICS(T
a=25
°C)
Tipical
Values
DEVICE
|APPLICATION
|Supply
Voltage
Operating
Tem-|
Storage
Tem-
|Supply
Current
|
Voltage
Gain
|
Maximum
Out-|
Equivalent
Input
|
Manufacture
TYPE
Dissipation}
perature
Range
|perature
Range
(Open
Loop)|
put
Voltage
Noise
Voltage
(Vrms)
(u
Vrms)
Terminal
Guide
(Side
View)
INDEX
—————"-
Schematic
Diagram
22