EasyManua.ls Logo

Nokia RH-99 - The Phone Does Not Register to the Networks, or the Phone Can Not Make a Call

Nokia RH-99
132 pages
Print Icon
To Next Page IconTo Next Page
To Next Page IconTo Next Page
To Previous Page IconTo Previous Page
To Previous Page IconTo Previous Page
Loading...
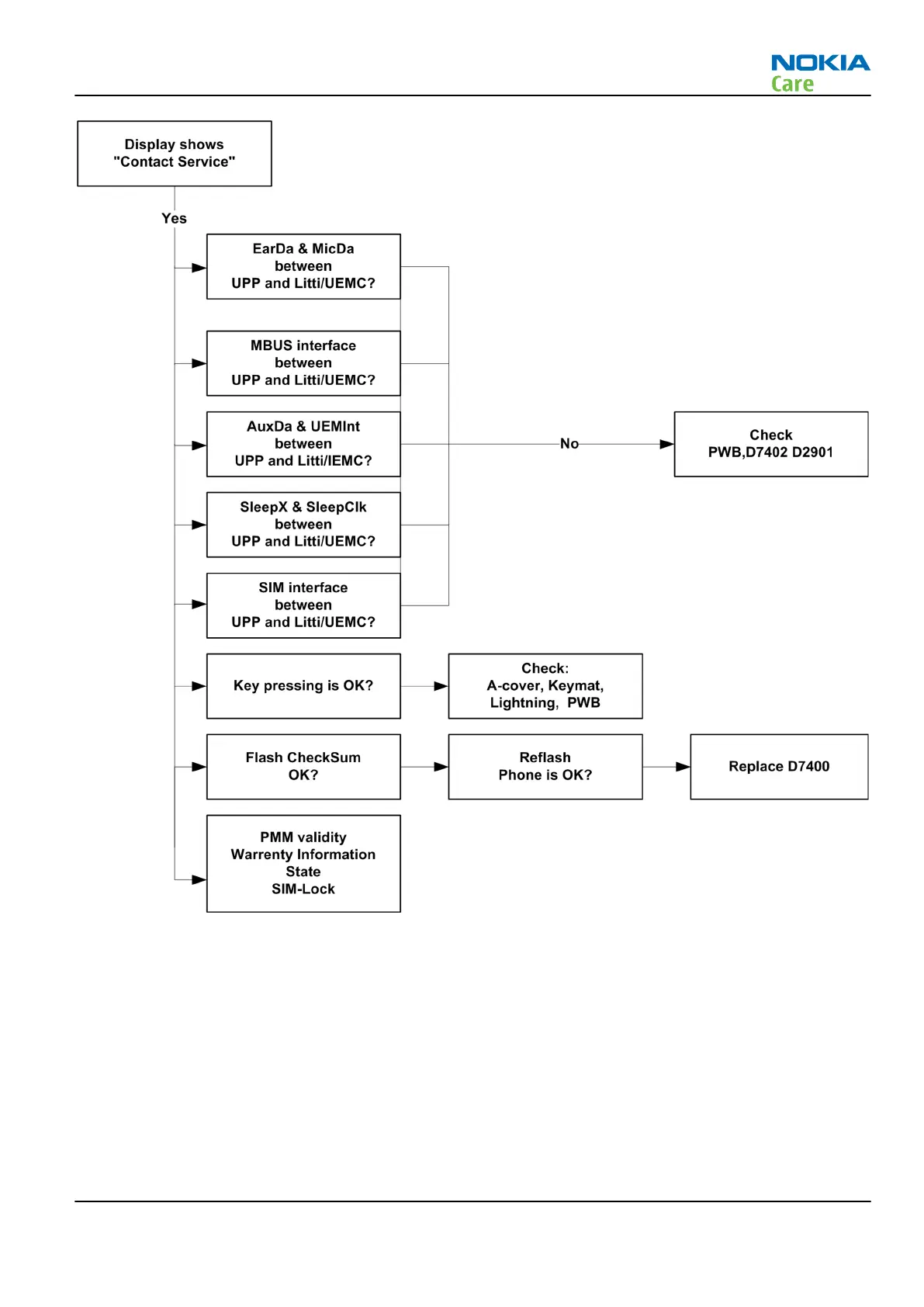
Figure 12 Troubleshooting when the "Contact Service" message is seen
The phone does not register to the networks, or the phone can not make a call
Troubleshooting flow
If the phone doesn't register to the network, the fault can be in either BB or RF. Only few signals can be tested
since several signals is 'buried' in one or more of the inner layers of the PWB.
First of all verify that SIM LOCK is not the reason to cause phone cannot connect to network. The way is to
check if the phone can connect to CMU200 by a test SIM card.
RH-99; RH-100; RH-105; RH-106
Baseband troubleshooting
Issue 2 COMPANY CONFIDENTIAL Page 4 –9
Copyright © 2007 Nokia. All rights reserved.

Table of Contents

Related product manuals