EasyManua.ls Logo

Norcold 2118IM - Calibre des Fusibles de Remplacement; Composants Électriques; Lumière du Compartiment Frigo; Cloison Chauffante

Norcold 2118IM
102 pages
Print Icon
To Next Page IconTo Next Page
To Next Page IconTo Next Page
To Previous Page IconTo Previous Page
To Previous Page IconTo Previous Page
Loading...
44
www.norcold.com
Séries 2118, 2118IM, 2118IMD
Si le véhicule comporte un évent
d’évacuation sur le toit, il se peut que
vous ayez à sortir le réfrigérateur de
son enceinte pour tester l’interrupteur
thermostatique. Si le véhicule comporte
un évent d’évacuation mural supérieur,
vous devrez enlever cet évent pour tester
l’interrupteur thermostatique.
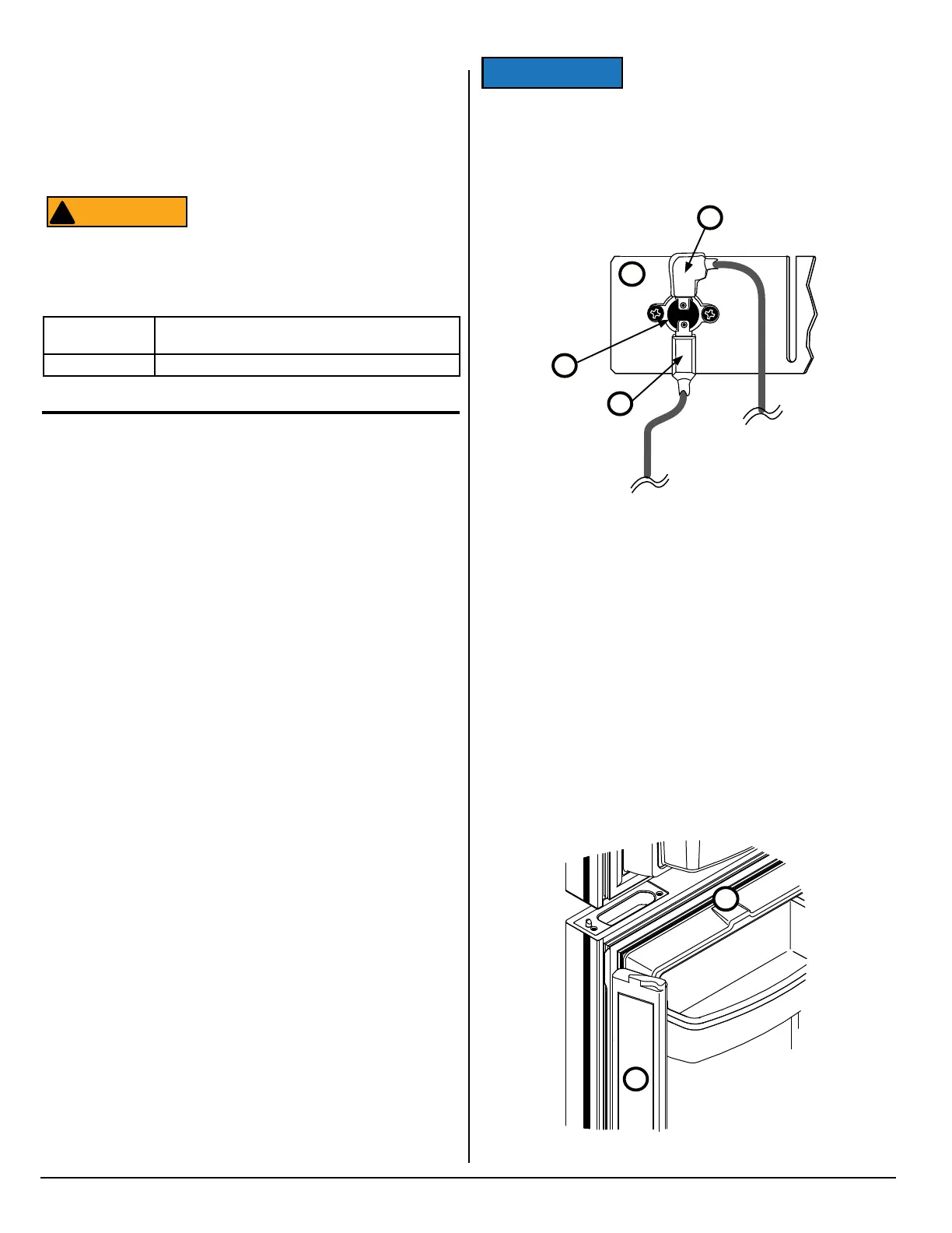
Joint de porte articulé
L’ensemble de volet [324] (voir g. 8) est monté sur une charnière
sur la porte gauche [10] du compartiment frigo. L’ensemble de volet
offre une surface étanche entre les portes du compartiment frigo
pour les joints intérieurs.
Ce volet comporte une unité chauffante de 12 volts c.c. servant
à réduire l’humidité. L’unité chauffante est alimentée par un
faisceau de ls enfermés dans le mousse de la porte.
L’unité chauffante est mise en marche lorsque les tiges à ressort du
côté de la charnière de la porte touchent aux bornes permanentes
situées sur le côté du boîtier du réfrigérateur. La porte gauche du
compartiment frigo doit être complètement fermée pour qu’il y ait
contact. Dès la mise en marche du réfrigérateur, le circuit du volet
chauffant est automatiquement mis sous tension.
NOTICE
AVIS
Connexions électriques, suite
Composants électriques
Lumière du compartiment frigo
La lumière du compartiment frigo s’allume et s’éteint grâce à des
interrupteurs actionnés par la porte. Chaque interrupteur est situé
en haut du compartiment frigo au-dessus de chaque porte.
Cloison chauffante
La cloison chauffante est emprisonnée en permanence dans
de la mousse dans la division située entre le compartiment
du congélateur et celui du réfrigérateur. La cloison chauffante
réchauffe cette zone pour éviter la formation de condensation.
Dès que le réfrigérateur est mis en marche, la cloison chauffante
est automatiquement mise sous tension. L’unité chauffante est
continuellement alimentée par le circuit d’alimentation.
Ventilateurs 12 volts c.c.
Les ventilateurs 12 volts c.c. augmentent la ventilation du système
de refroidissement. Deux (2) grands ventilateurs sont située près
du condenseur à l’arrière du bouchon de mousse du système de
refroidissement. Un troisième ventilateur plus petit est situé sous
les serpentins de l’absorbeur du système de refroidissement.
Tous les ventilateurs sont unidirectionnels. Les grands ventilateurs
consomment chacun 0,430 ampère à 12 volts c.c. Le petit ventilateur
consomme 0,140 ampère à 12 volts c.c. La résistance du ventilateur
mesurée dans le circuit du moteur est d’environ 1,8 ohm.
Les ventilateurs sont commandés par un interrupteur thermostatique.
Interrupteur thermostatique
L’interrupteur thermostatique [321] est situé sur la première ailette
du condenseur [10] (voir g. 7). Le courant entrant de +12 volts
c.c. [322] est raccordé à la borne supérieure de l’interrupteur
thermostatique. Le courant sortant de +12 volts c.c. [323] est
branché à la borne inférieure de l’interrupteur thermostatique.
Cet interrupteur commande la mise en marche et l’arrêt des
ventilateurs. Les ventilateurs sont mis en marche lorsque la
température de la première ailette du condenseur est d’environ 130 °F
(54,4 °C) et s’arrêtent lorsqu’elle atteint environ 115 °F (46 °C).
Fig. 7 - Interrupteur thermostatique des ventilateurs.
NOR000202A
10
322
321
323
femelles de 6,4 mm (1/4 po).
Utilisez des ls d’un calibre d’au moins 18AWG et un fusible sur
conducteur d’au maximum 6 A pour les ls d’alimentation c.c.
Assurez-vous qu’un fusible sur conducteur est installé sur le l
positif c.c., le plus près possible de la batterie, entre celle-ci et
le bloc de bornes du réfrigérateur.
Ce fusible sur conducteur est nécessaire
pour plus de sécurité, même si le
réfrigérateur comporte son propre fusible
dans le panneau de commande.
Calibre des fusibles de remplacement
Circuit c.a. Circuit c.a. Série AGC, 8A, action rapide, tube de verre
(6 x 32 mm)
Circuit c.c. Fusible à lame de type automobile, APR-5A-Tan
ATTENTION
!
WARNING
ATTENTION
!
AVERTISSEMENT
Fig. 8 - Joint de porte articulé.
324
Art01813
10

Table of Contents

Related product manuals