EasyManua.ls Logo

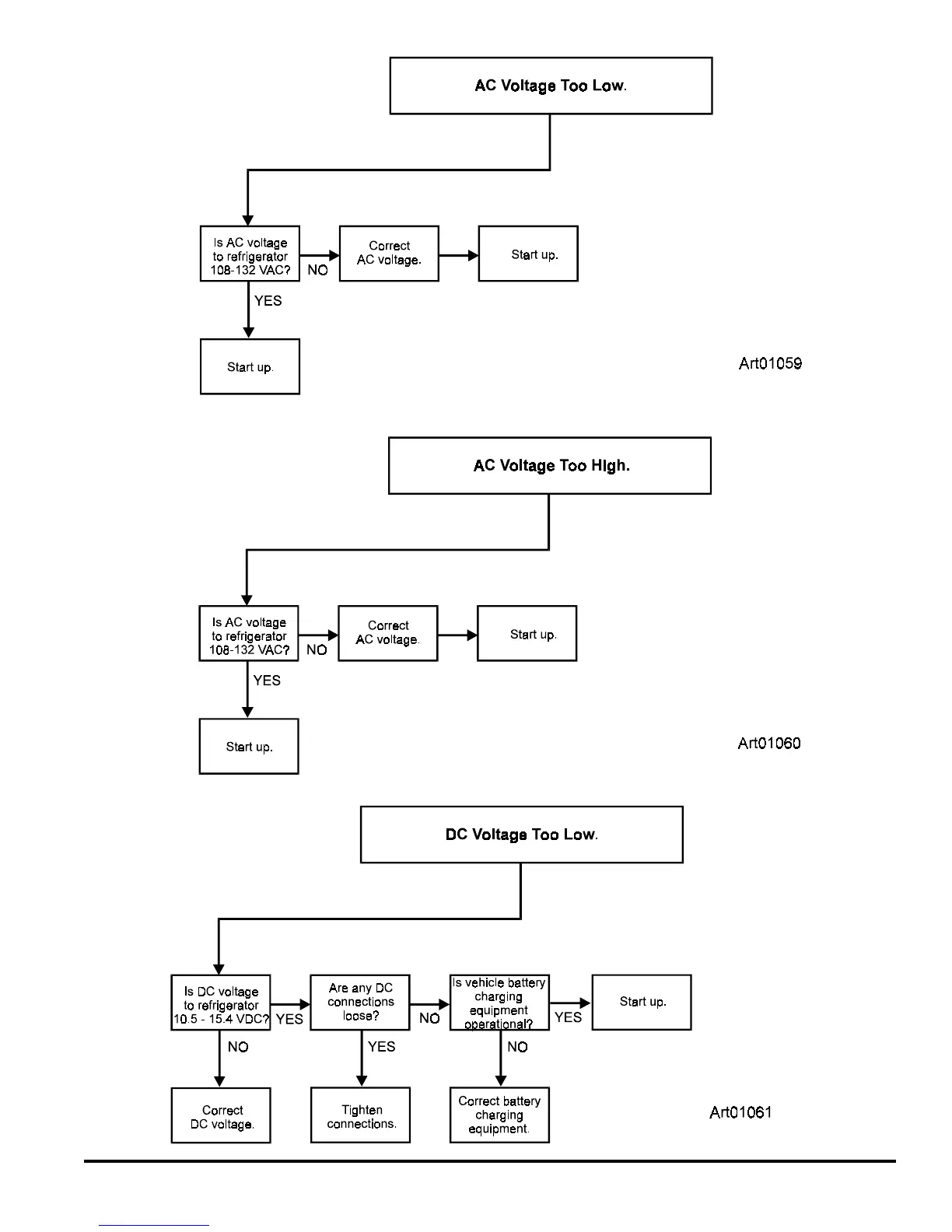
Norcold N620 - AC Voltage too Low; AC Voltage too High; DC Voltage too Low

Norcold N620
30 pages
Print Icon
To Next Page IconTo Next Page
To Next Page IconTo Next Page
To Previous Page IconTo Previous Page
To Previous Page IconTo Previous Page
Loading...
Service Manual 15

Table of Contents

Related product manuals