EasyManua.ls Logo

NorthStar 459232 - 459242 Pneumatic Schematic

Default Icon
34 pages
Print Icon
To Next Page IconTo Next Page
To Next Page IconTo Next Page
To Previous Page IconTo Previous Page
To Previous Page IconTo Previous Page
Loading...
30
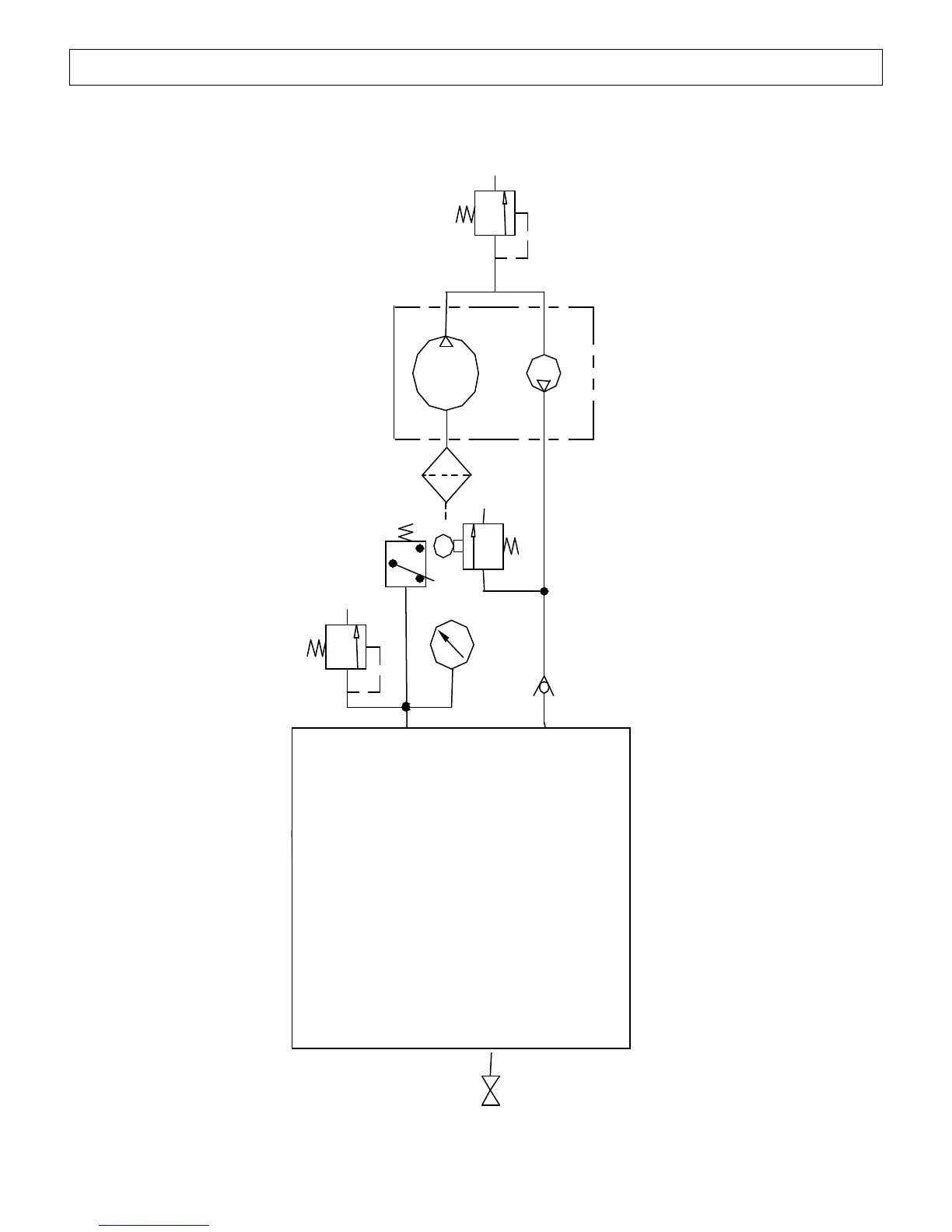
459242 Pneumatic Schematic
Safety Relief
Valve
4593100 Pump
80-Gallon Tank
Unloader
Pressure Switch
Safety Relief
Valve

Related product manuals