EasyManua.ls Logo

Notifier Honeywell UDS-4N - Page 34

Notifier Honeywell UDS-4N
41 pages
Print Icon
To Next Page IconTo Next Page
To Next Page IconTo Next Page
To Previous Page IconTo Previous Page
To Previous Page IconTo Previous Page
Loading...
PAGE - 32 Installation and operating manual UDS-4
NOTIFIER ITALIA Doc. M--203.1-UDS4N-ENG Rev A. 1 UDS-4_manu
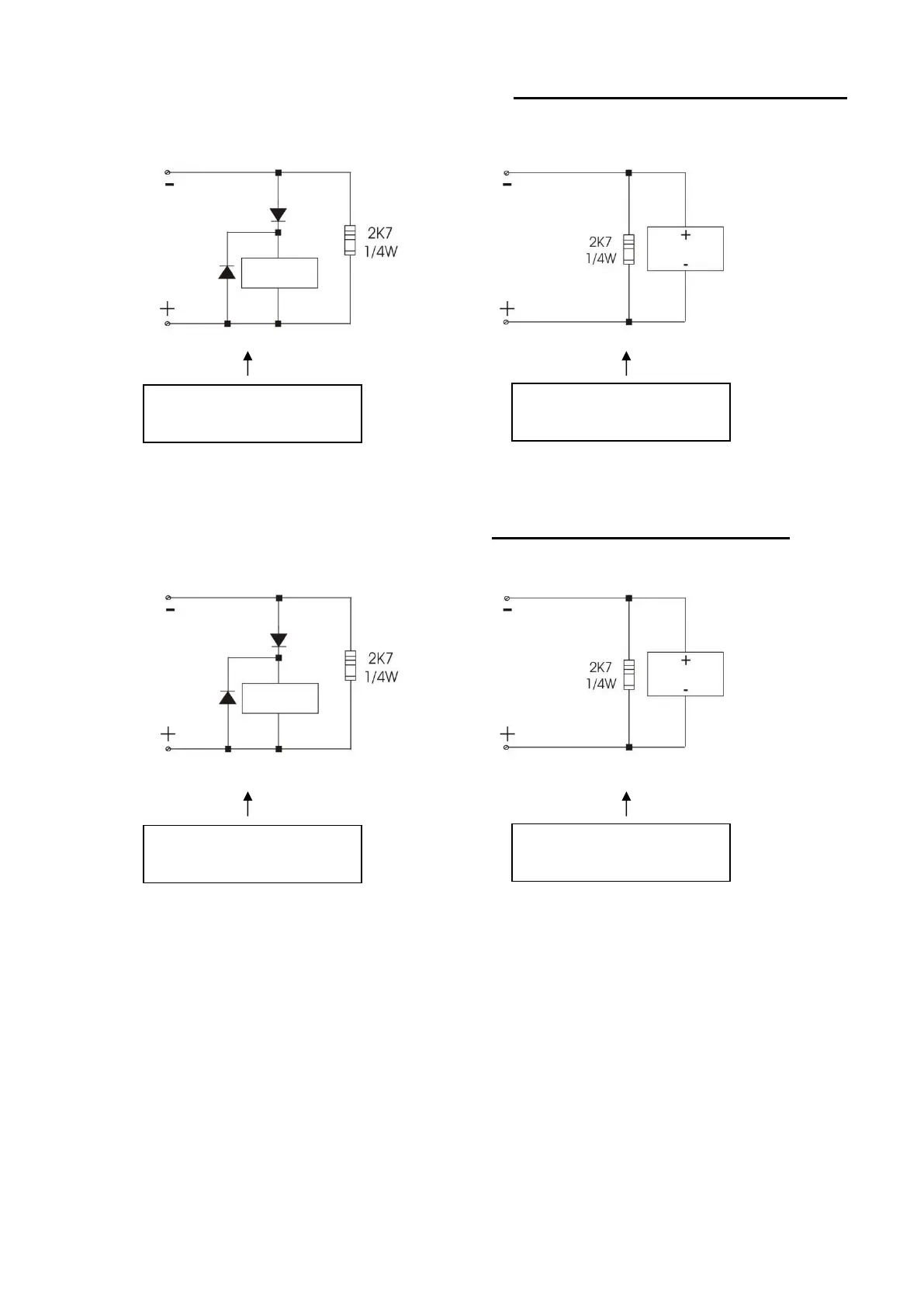
7.7 - Possible connection diagrams for the "Extinguishing system in lockout"
output
Note: The polarities shown in the terminals refer to the "Stand-by" condition of the UDS-4N panel.
7.8 - Possible connection diagrams for the "Pilot Cylinder/Directional Valve" output
Note: The polarities shown in the terminals refer to the "Stand-by" condition of the UDS-4N panel.
Recommended connection
for non-polarised actuators.
Recommended connection
for polarised actuators.
Recommended connection
for non-polarised actuators.
Recommended connection
for polarised actuators.

Related product manuals