EasyManua.ls Logo

Oki B6500 - Resolución de Problemas; Cuando el Papel Se Atasca

Oki B6500
161 pages
Print Icon
To Next Page IconTo Next Page
To Next Page IconTo Next Page
To Previous Page IconTo Previous Page
To Previous Page IconTo Previous Page
Loading...
B6500 Guía del Usuario
115
Resolución de problemas
Cuando el papel se atasca
¡PRECAUCIÓN!
Cuando retire papel atascado, asegúrese de que
no queden trozos de papel dentro de la impresora. Un
trozo de papel dentro de la impresora puede
incendiarse. Si una hoja de papel se enreda alrededor
del rodillo de calor o si está tratando de sacar una
hoja atascada que no está a la vista, es preferible que
no trate de solucionarlo usted mismo. Podría
quemarse o lesionarse. Apague la impresora
inmediatamente y llame la asistencia técnica.
Siguiendo el mensaje del panel de control, abra la tapa y retire la
hoja atascada. Si la hoja se rompe, asegúrese de retirar todos los
trozos de papel.
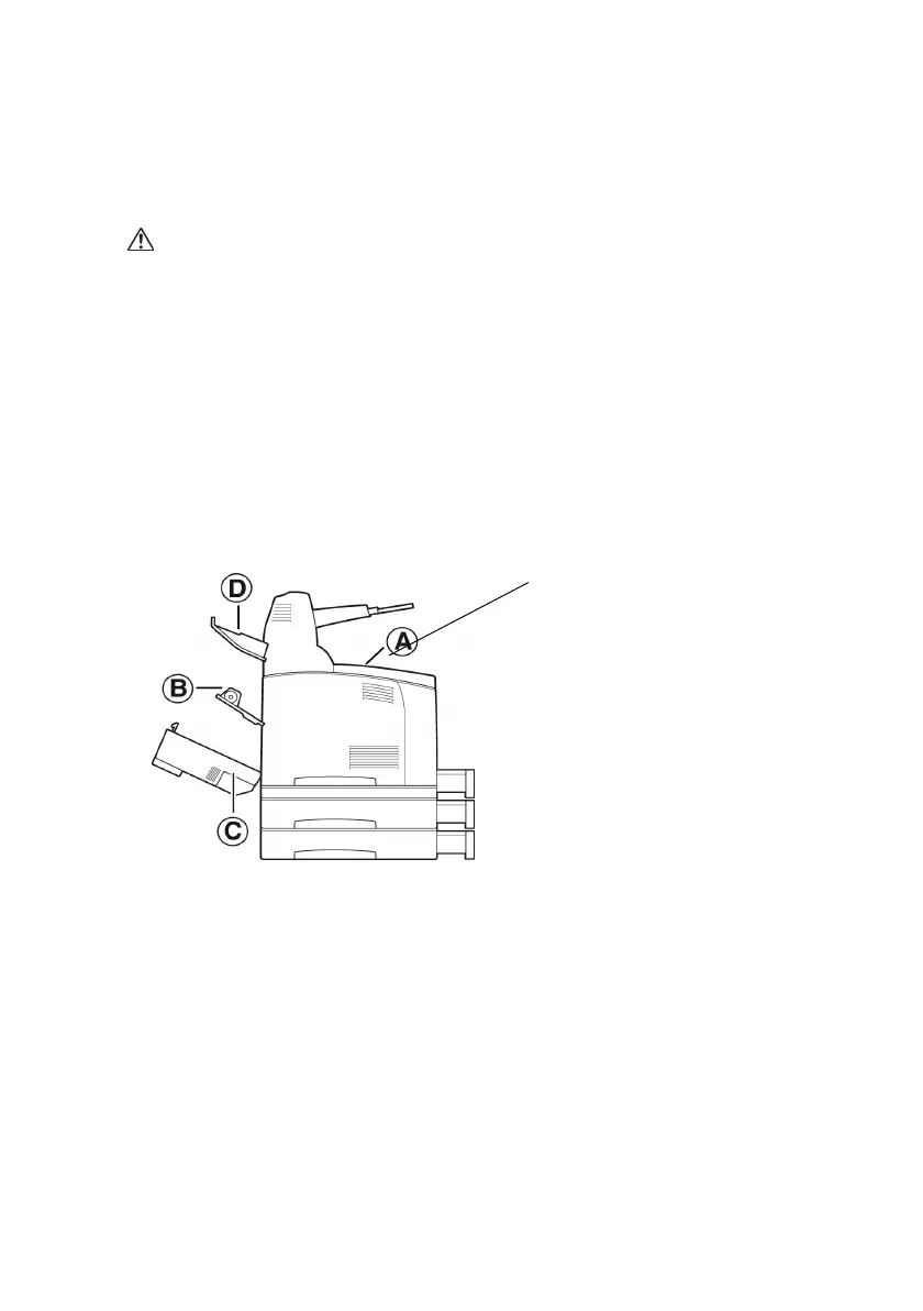
Dentro de la Tapa A
Siga el procedimiento descrito abajo para retirar el papel atascado
cuando aparezca el siguiente mensaje en el panel de control: "Paper
Jam Open Cover A (Papel atascado, abra la tapa A)" or "Remove
cartridge Clear jam (Retire el cartucho para sacar papel atascado)".
Tapa A
Cuando la bandeja de captura
con desplazamiento opcional
está instalada, primero doble la
bandeja antes de abrir la tapa
A.
Abra la tapa A cuando aparezca
un mensaje que indica que
debe retirar el cartucho de
cilindro/tóner.

Table of Contents

Other manuals for Oki B6500

Related product manuals