EasyManua.ls Logo

Olympus VN-180 - Schedule Alarm Playback

Olympus VN-180
26 pages
To Next Page IconTo Next Page
To Next Page IconTo Next Page
To Previous Page IconTo Previous Page
To Previous Page IconTo Previous Page
Loading...
16
2
2 Press any button while the beep tones are being emitted to play
back the message set for that time.
Press the STOP button to stop message alarm playback.
The electronic beep tones stop automatically if no button is
pressed for 5 minutes after the beeping starts. The message is
not played back in this case.
Schedule Alarm Playback
When the Schedule Alarm Playback mode is engaged, the days
schedule messages can be listened to at a selected time every
day.
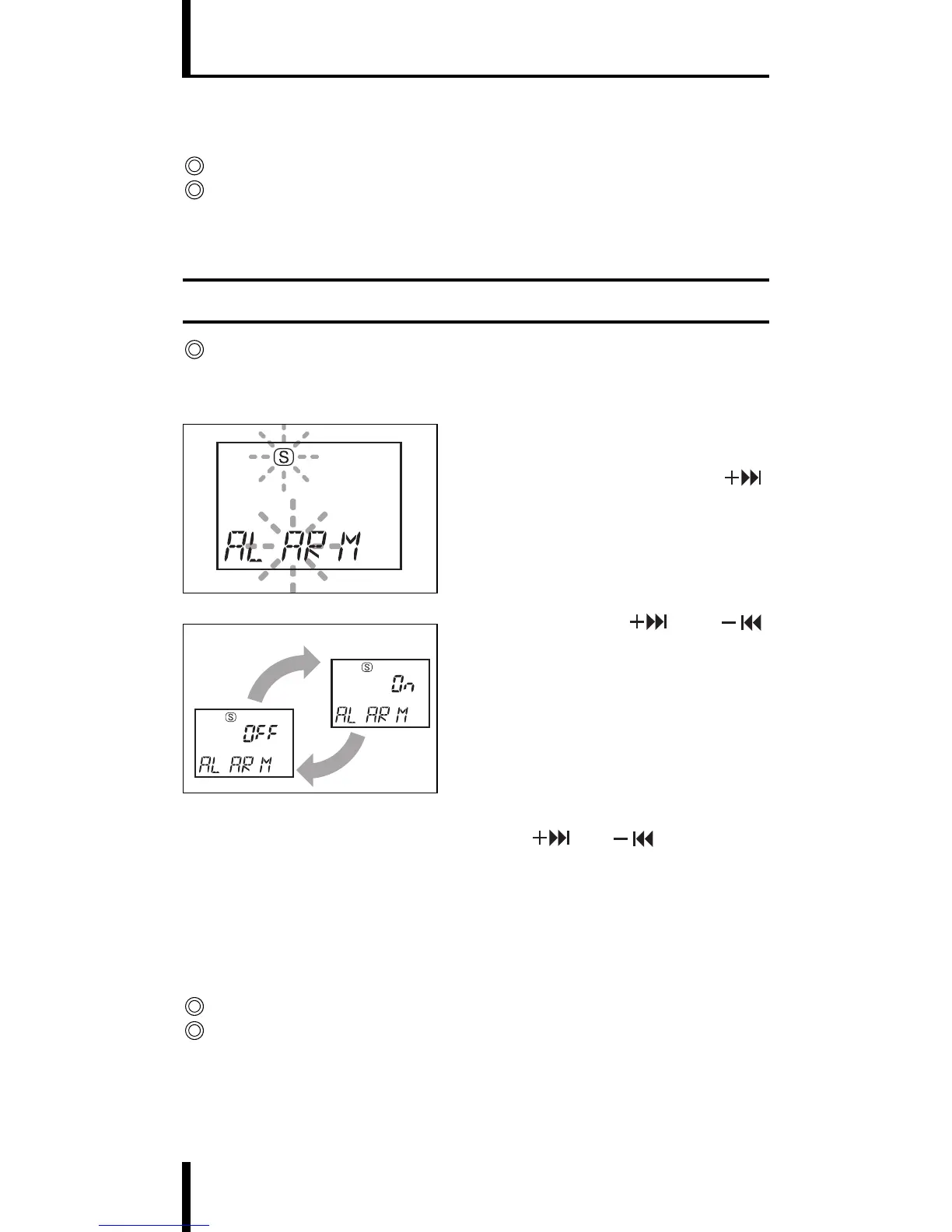
1 First press and hold the MENU/
FOLDER button for more than 1
second. Then press the (
)
button four times to select the [S]
[ALARM] setting in the Options
mode. Then, press the MENU/
FOLDER button again to enter
the [S] [ALARM] screen.
2 Pressing the (
) or ( )
button alternates ON and OFF.
Select [ON] by pressing either
button.
3 Each time you press the MENU/
FOLDER button, the hour or
minute figures blink. Set the
hour and minute you want to
activate the alarm by pressing
the (
) or ( ) button.
To complete the folder schedule
alarm setting, press the STOP
button.
4 At the set alarm time each day, the recorder beeps. Press any
button to playback all of the messages recorded for the current
date.
Press the STOP button to stop playback.
Message alarm playback occurs every day unless it is set to [OFF].
1

Related product manuals