EasyManua.ls Logo

OMA 526 - Installing with Expansion Anchors; Floor Preparation and Marking

OMA 526
53 pages
Print Icon
To Next Page IconTo Next Page
To Next Page IconTo Next Page
To Previous Page IconTo Previous Page
To Previous Page IconTo Previous Page
Loading...
SISTEMA DI INSTALLAZIONE
MEDIANTE TASSELLI AD ESPANSIONE
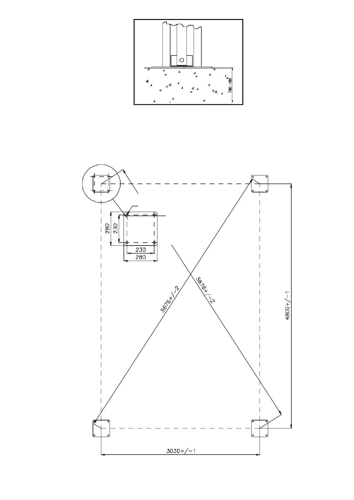
Esem pio su pa vi men to di tipo in du stria le,
rea liz za to in cal ce struz zo di do sag gio me -
dio con rete elet tro sal da ta in ter na, spes so
cir ca 160- 180 mm e ben li vel la to (Fig.37).
Fig.37 Spes so re pa vi men ta zio ne
PREPARAZIONE DEL PAVIMENTO - TRACCIATURA
Trac cia re sul pa vi men to la po si zio ne del le co lon ne se con do le in di
-
ca zio ne di fi gu ra 38.
Le mi su re in di ca te sono tas sa ti ve con tol le ran ze am mes se:
- su al li nea men to +/- 1 mm
- su squa dra tu ra +/- 2 mm
Fig.38 Trac cia tu ra
INSTALLING WITH EXPANSION
ANCHORS
Examp le of in stal la tion on in du strial flo or in
avera ge mix con cre te with em bed ded elec -
trowel ded re in for cing mesh, thickness ap -
proxi ma tely 160- 180 mm and pro perly le vel
-
led (fig.37).
Fig.37 Flo or thickness
PREPARING THE FLOOR - MARKING
Mark the po si tion of the posts on the flo or as shown in fi gu re 38.
The mea su re ments shown in the fi gu re are com pul so ry; ma xi mum
to le ran ce is:
- +/- 1 mm alignment
- +/- 2 mm squa ring
Fig.38 Mar king
23
4 Ho les 20

Related product manuals