EasyManua.ls Logo

Omnimount PLAY20 - Install VESA Adapters

Omnimount PLAY20
24 pages
To Next Page IconTo Next Page
To Next Page IconTo Next Page
To Previous Page IconTo Previous Page
To Previous Page IconTo Previous Page
Loading...
PN:888-45-233-W-02 revE
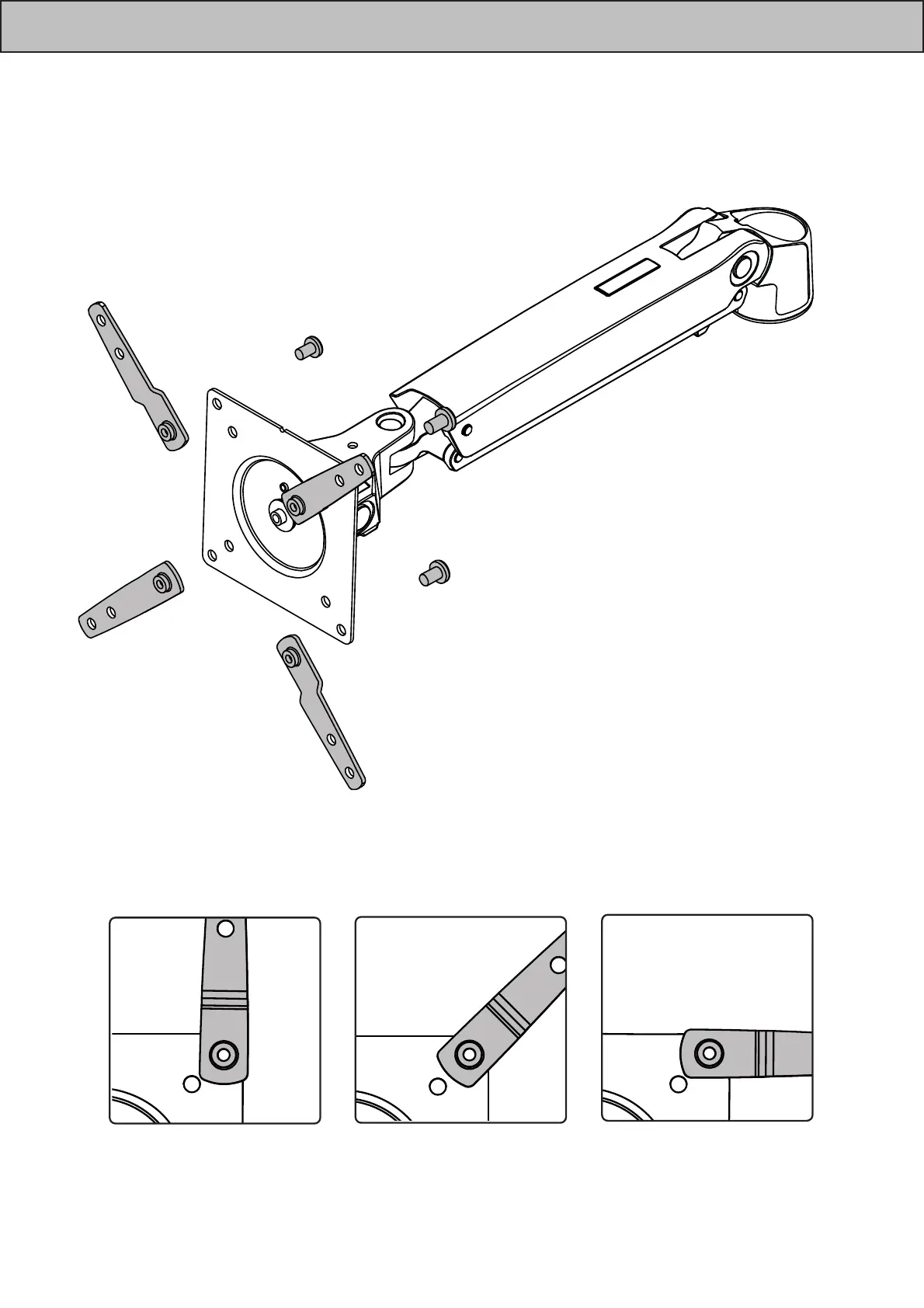
STEP 1 B-C-D: INSTALL ADAPTERS
BCD
P-D
2
3

Related product manuals