EasyManua.ls Logo

Omron E5CK-AA1-500 - Panel Cutout; Installation Procedure

Omron E5CK-AA1-500
157 pages
To Next Page IconTo Next Page
To Next Page IconTo Next Page
To Previous Page IconTo Previous Page
To Previous Page IconTo Previous Page
Loading...
6HFWLRQ
ï(&. ,QVWDOODWLRQ

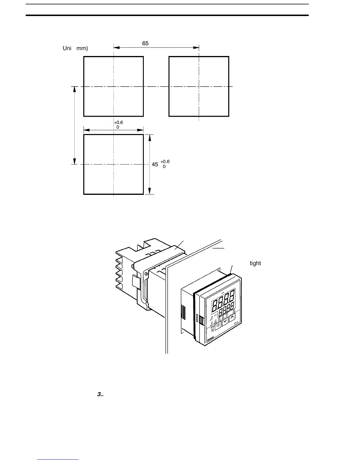
ïï 3DQHO &XWRXW




8QLW PP
 PP PLQ
 PP PLQ
5HFRPPHQGHG SDQHO WKLFNQHVV LV
WR PP
0DLQWDLQ WKH VSHFLILHG YHUWLFDO DQG
KRUL]RQWDO PRXQWLQJ VSDFH EHWZHHQ
HDFK FRQWUROOHU &RQWUROOHUV PXVW
QRW EH FORVHO\ PRXQWHG YHUWLFDOO\ RU
KRUL]RQWDOO\
ïï ,QVWDOODWLRQ 3URFHGXUH
$GDSWHU
3DQHO
:DWHUWLJKW
JDVNHW
    ,QVHUW WKH (&. FRQWUROOHU LQWR WKH PRXQWLQJ KROH LQ WKH SDQHO DW WKH
SRVLWLRQ VKRZQ LQ WKH ILJXUH DERYH
 3XVK WKH DGDSWHU DORQJ WKH FRQWUROOHU ERG\ IURP WKH WHUPLQDOV XS WR WKH
SDQHO DQG IDVWHQ WHPSRUDULO\

Table of Contents

Related product manuals