EasyManua.ls Logo

Omron K3TC - Page 32

Omron K3TC
77 pages
Print Icon
To Next Page IconTo Next Page
To Next Page IconTo Next Page
To Previous Page IconTo Previous Page
To Previous Page IconTo Previous Page
Loading...

 %HIRUH $SSO\LQJ 3RZHU
)RU WKH 56 DQG 56 0RGHOV GHVLJQDWH WKH ,QWHOOLJHQW 6LJQDO 3URFHVVRU
3URFHVVRU ORFDWHG DW WKH ULJKW HQG RI WKH WUDQVPLVVLRQ OLQH DV DQ HQG VWDWLRQ E\
VHWWLQJ WKH WHUPLQDWRU VZLWFK RI WKDW XQLW WR 21 (QGVWDWLRQ GHVLJQDWLRQ LV QRW
UHTXLUHG IRU WKH 56& 0RGHO
7(50,1$725
21
2))
5ï 7ï
5 76*
287387 131 7U
 WR  9'&  P$ 0D[
56
//
++ +
&20 3$66
/
56
        
ï
21
2))
7(50,1$725
287387  WR  9'&  P$ 0D[
++ + 3$66 / // &20
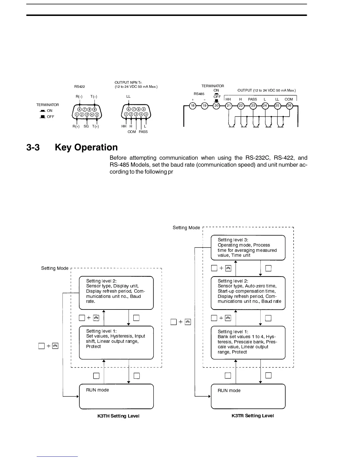
 .H\ 2SHUDWLRQ
%HIRUH DWWHPSWLQJ FRPPXQLFDWLRQ ZKHQ XVLQJ WKH 56& 56 DQG
56 0RGHOV VHW WKH EDXG UDWH FRPPXQLFDWLRQ VSHHG DQG XQLW QXPEHU DF
FRUGLQJ WR WKH IROORZLQJ SURFHGXUHV XVH WKH NH\V RQ WKH IURQW RI WKH 8QLW WR PDNH
WKH VHWWLQJV )RU RSHUDWLRQ SURFHGXUHV RWKHU WKDQ WKH IROORZLQJ UHIHU WR WKH RSHU
DWLRQ PDQXDO RU LQVWUXFWLRQ PDQXDO VXSSOLHG ZLWK WKH 8QLW
7KLV GHYLFH KDV WZR PRGHV 581 PRGH IRU QRUPDO RSHUDWLRQ DQG 6HWWLQJ
PRGH IRU LQLWLDO VHWWLQJ 7KH 6HWWLQJ PRGH LV IXUWKHU FDWHJRUL]HG LQ WZR OHYHOV
WKUHH OHYHOV IRU WKH .75.7& DFFRUGLQJ WR WKH IUHTXHQF\ RI XVH 6HW WKH
EDXG UDWH DQG XQLW QXPEHU ZLWK 6HWWLQJ OHYHO 
.7+ 6HWWLQJ /HYHO
.75 6HWWLQJ /HYHO
6HWWLQJ 0RGH
6HWWLQJ 0RGH
6HWWLQJ OHYHO 
6HQVRU W\SH 'LVSOD\ XQLW
'LVSOD\ UHIUHVK SHULRG &RP
PXQLFDWLRQV XQLW QR %DXG
UDWH
6HWWLQJ OHYHO 
6HQVRU W\SH $XWR]HUR WLPH
6WDUWXS FRPSHQVDWLRQ WLPH
'LVSOD\ UHIUHVK SHULRG &RP
PXQLFDWLRQV XQLW QR %DXG UDWH
6HWWLQJ OHYHO 
2SHUDWLQJ PRGH 3URFHVV
WLPH IRU DYHUDJLQJ PHDVXUHG
YDOXH 7LPH XQLW
6HWWLQJ OHYHO 
%DQN VHW YDOXHV WR +\V
WHUHVLV 3UHVFDOH EDQN 3UHV
FDOH YDOXH /LQHDU RXWSXW
UDQJH 3URWHFW
581 PRGH
581 PRGH
6HWWLQJ OHYHO 
6HW YDOXHV +\VWHUHVLV ,QSXW
VKLIW /LQHDU RXWSXW UDQJH
3URWHFW
7HUPLQDWRU 'HVLJQDWLRQ
.H\ 2SHUDWLRQ 6HFWLRQ 

Related product manuals