EasyManua.ls Logo

Omron R88D-KN15H-ECT-R - Absolute Encoder Battery Cable Specifications

Omron R88D-KN15H-ECT-R
484 pages
Print Icon
To Next Page IconTo Next Page
To Next Page IconTo Next Page
To Previous Page IconTo Previous Page
To Previous Page IconTo Previous Page
Loading...
3-59
3-4 Cable and Connector Specifications
OMNUC G5-series AC Servomotors and Servo Drives User’s Manual (with Built-in EtherCAT Communications)
3
Specifications
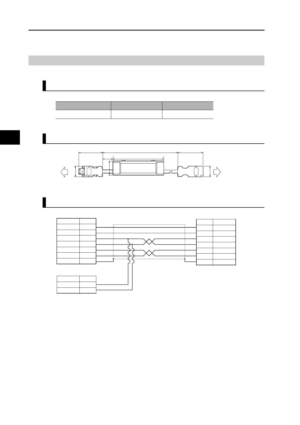
Absolute Encoder Battery Cable Specifications
Use the following Cable when using an absolute encoder.
Cable Model
Connection Configuration and External Dimensions
Wiring
Connector plug: 55100-0670 (Molex Japan)
Model Length (L) Weight
R88A-CRGD0R3C 0.3 m Approx. 0.1 kg
Servo Drive side
Servomotor side
R88D-K@
R88M-K@
Battery holder
t=12
t=12
43.5300
110
90±5
43.5
8.81
8.81
13
t=27.2
Symbol
Servo Drive side
E5V 1
E0V 2
BAT+ 3
BAT 4
S+ 5
S 6
FG
Shell
1 E5V
Symbol
Servomotor side
2
3
4
5
6
E0V
BAT+
BAT
S+
S
FG
Shell
Connector socket:
54280-0609 (Molex Japan)
Orange
Orange/White
Blue
Blue/White
Black
Red
Number
Number
Battery holder
Symbol
1
2
BAT+
BAT
Number

Table of Contents

Related product manuals