EasyManua.ls Logo

Omron SYSMAC C60P - Page 39

Omron SYSMAC C60P
95 pages
Print Icon
To Next Page IconTo Next Page
To Next Page IconTo Next Page
To Previous Page IconTo Previous Page
To Previous Page IconTo Previous Page
Loading...
33
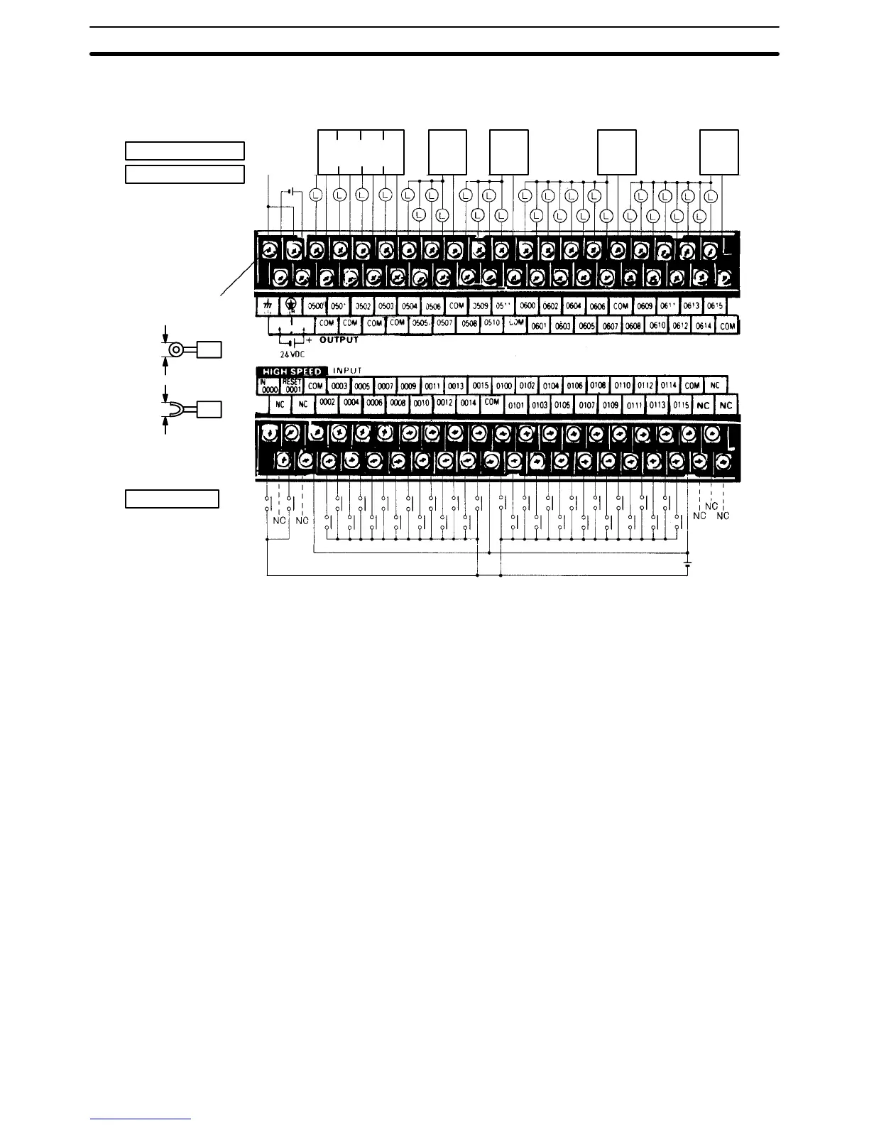
CPU C60P (CDj-D) A separate power supply must be used for the DC inputs.
Relay contact outputs
Transistor outputs
Power
supply
(24
VDC)
Ground
Load power
supply
Load
power
supply
Load
power
supply
Load
power
supply
Load
power
supply
Upper terminal block
Lower terminal block
Inputs (24 VDC)
High-
speed
counter
input
Hardware reset input
M3.5 screws
7.5 max.
7.5 max.
Do not connect the NC terminals to anything.
I/O Wiring Section 2-6

Related product manuals