EasyManua.ls Logo

Omron SYSMAC C60P - Page 43

Omron SYSMAC C60P
95 pages
Print Icon
To Next Page IconTo Next Page
To Next Page IconTo Next Page
To Previous Page IconTo Previous Page
To Previous Page IconTo Previous Page
Loading...
37
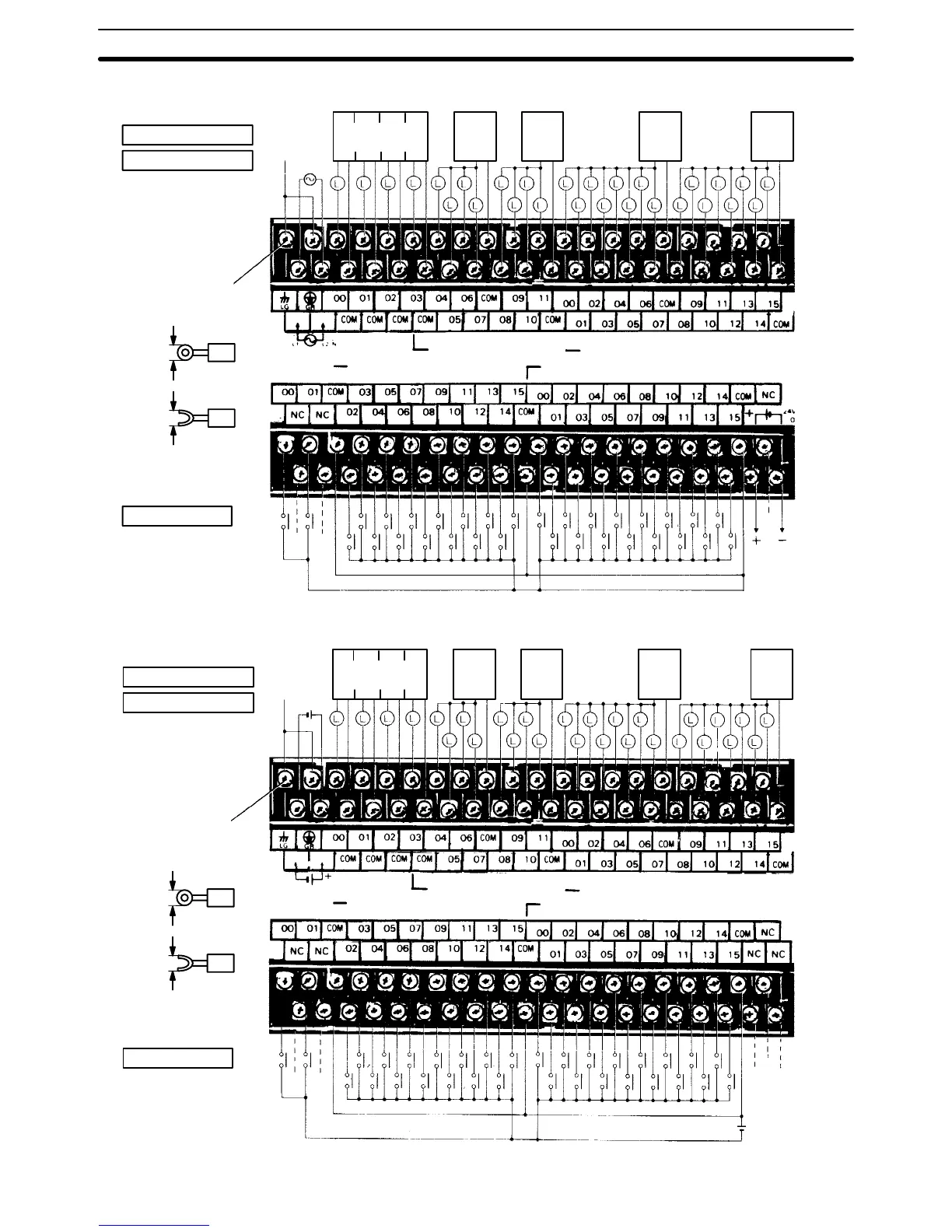
I/O Unit C60P (EAj-A)
Relay contact outputs
Triac outputs
Power
supply
(100 to
240
VAC)
Ground
Upper terminal block
Lower terminal block
Inputs (100 VAC)
24-VDC
output
(0.3 A
max.)
M3.5 screws
7.5 max.
7.5 max.
Load
power
supply
Load
power
supply
Load
power
supply
Load
power
supply
Load power
supply
100 240VAC
CH(00 15) CH(00 15)
CH(00 15)
CH(00 11)
INPUT
COM
NC NC
NC
I/O Unit C60P (EDj-D) A separate power supply must be used for the DC inputs.
Relay contact outputs
Transistor outputs
Power
supply
(24
VDC)
Ground
Upper terminal block
Lower terminal block
Inputs (24 VDC)
M3.5 screws
7.5 max.
7.5 max.
Load
power
supply
Load
power
supply
Load
power
supply
Load
power
supply
Load power
supply
Load power
supply
100 240VAC
CH(00 15) CH(00 15)
CH(00 15)
CH(00 11)
INPUT
NC NC
NC
NC
NC
I/O Wiring Section 2-6

Related product manuals