EasyManua.ls Logo

Omron SYSMAC C60P - Page 48

Omron SYSMAC C60P
95 pages
Print Icon
To Next Page IconTo Next Page
To Next Page IconTo Next Page
To Previous Page IconTo Previous Page
To Previous Page IconTo Previous Page
Loading...
42
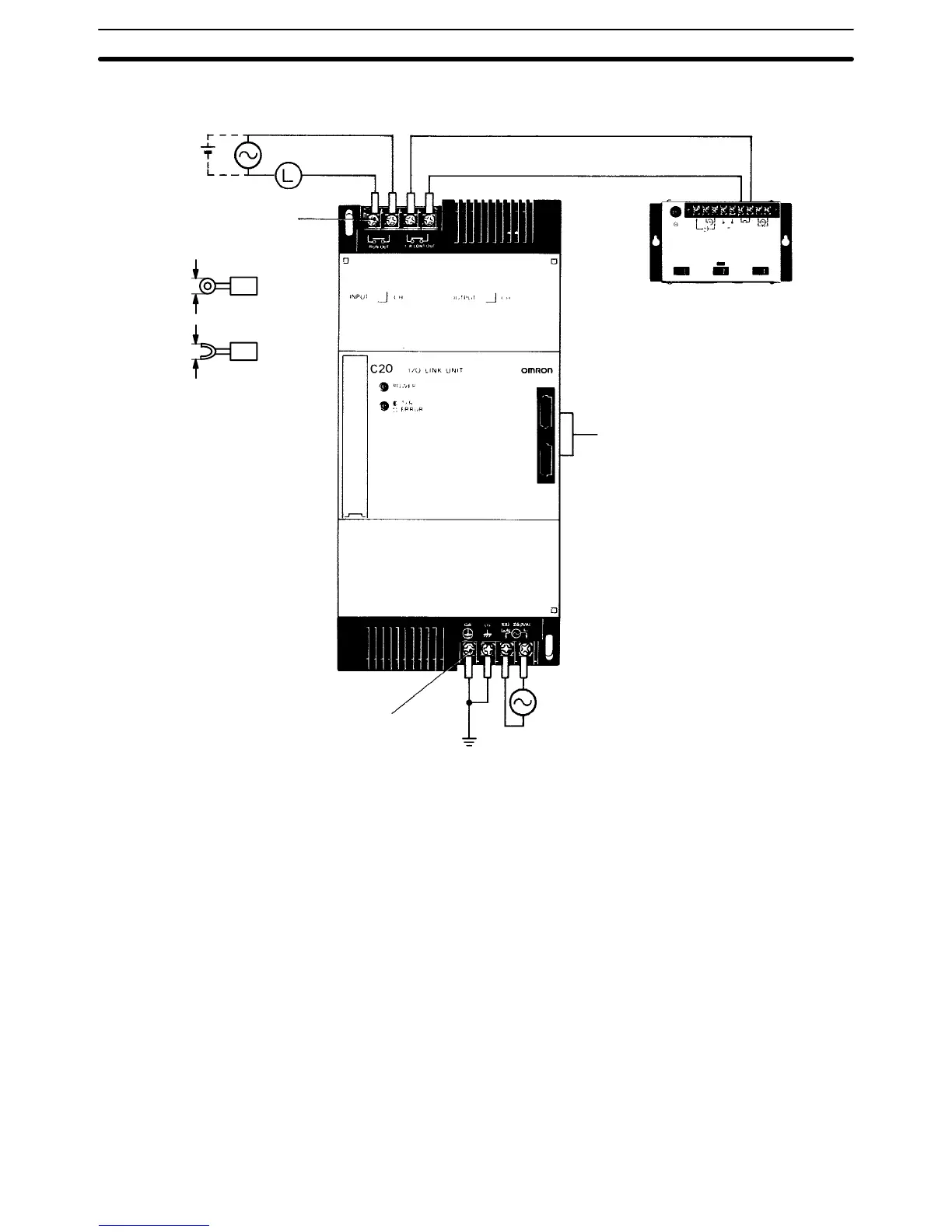
I/O Link Unit 3G2C7-LK011(-P)E
RUN output
M4 screws
Repeater output (Used only when connected to Link Adapter.)
Link Adapter
M4 screws
Optical fiber connector
Power supply
(100 to 240 VAC)
8.6 max.
8.6 max.
I/O Wiring Section 2-6

Related product manuals