EasyManua.ls Logo

oneConcept X4-A4 - Schaltplan

oneConcept X4-A4
Print Icon
To Next Page IconTo Next Page
To Next Page IconTo Next Page
To Previous Page IconTo Previous Page
To Previous Page IconTo Previous Page
Loading...
11
DE
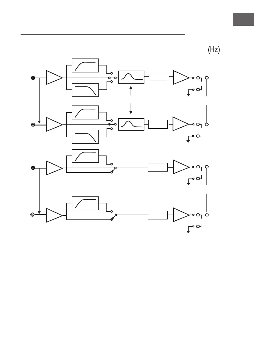
SCHALTPLAN
++++
----
++++
----
++++
----
HC4 HC4
3CH
BTL
Normal
Inverted
Full
LEVEL
LOW BOOST
High-pass
Low-pass
LEVEL
LEVEL
High-pass
Low-pass
Full
Inverted
++++
----
++++
----
++++
----
2CH
1CH
BTL
LEVEL
4ch
3ch
2ch
Full
Normal
High-pass
BTLBTL
Hight-pass
1ch