EasyManua.ls Logo

oneConcept X4-A4 - Esquema del Circuito

oneConcept X4-A4
Print Icon
To Next Page IconTo Next Page
To Next Page IconTo Next Page
To Previous Page IconTo Previous Page
To Previous Page IconTo Previous Page
Loading...
47
ES
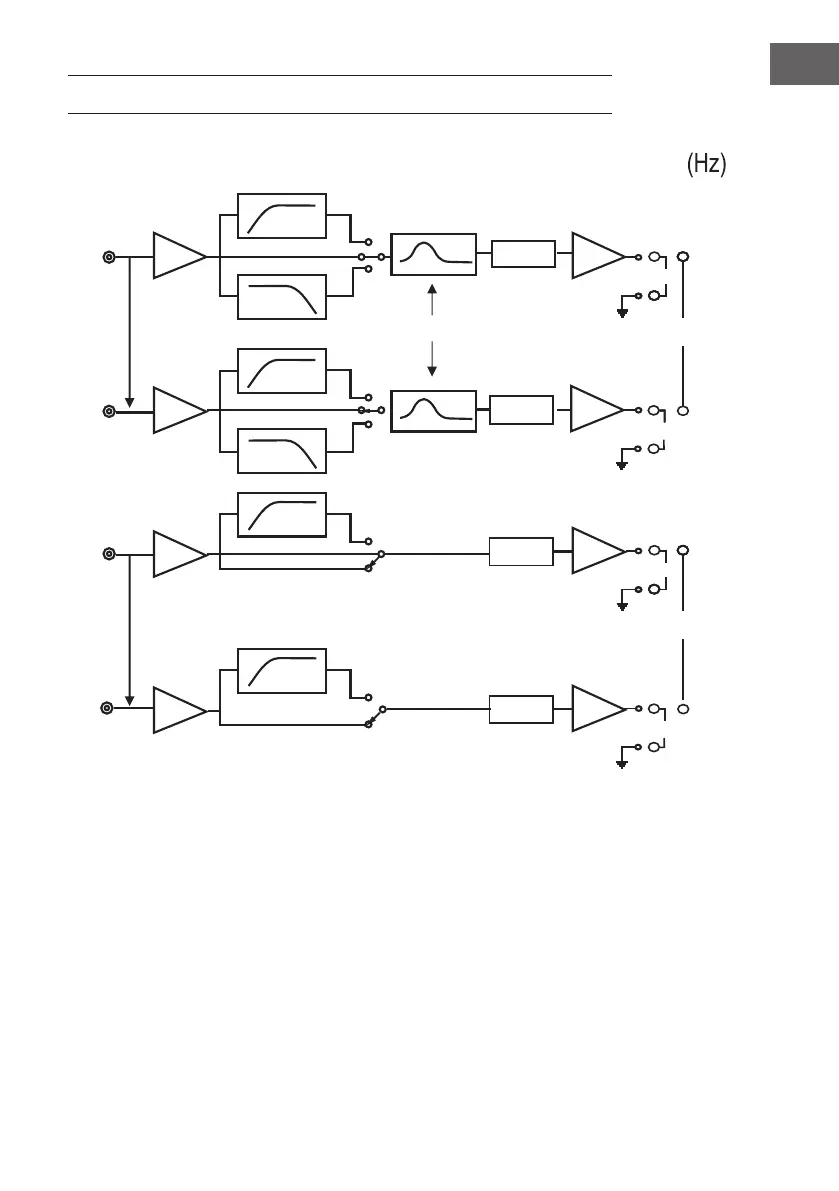
ESQUEMA DEL CIRCUITO
++++
----
++++
----
++++
----
HC4 HC4
3CH
BTL
Normal
Inverted
Full
LEVEL
LOW BOOST
High-pass
Low-pass
LEVEL
LEVEL
High-pass
Low-pass
Full
Inverted
++++
----
++++
----
++++
----
2CH
1CH
BTL
LEVEL
4ch
3ch
2ch
Full
Normal
High-pass
BTLBTL
Hight-pass
1ch