EasyManua.ls Logo

Opera Nivel Pro - Page 12

Default Icon
Print Icon
To Next Page IconTo Next Page
To Next Page IconTo Next Page
To Previous Page IconTo Previous Page
To Previous Page IconTo Previous Page
Loading...
DE
WARNHINWEISE UND SYMBOLE
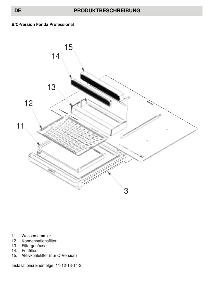
B/C-Version Fonda Professional
15
14
13
12
11
3
11. Wassersammler
12. Kondensationsfilter
13. Filtergehäuse
14. Fettfilter
15. Aktivkohlefilter (nur C-Version)
Installationsreihenfolge: 11-12-13-14-3
PRODUKTBESCHREIBUNGDE
12

Other manuals for Opera Nivel Pro