EasyManua.ls Logo

Opera Nivel Pro - Appliance Description; System Components

Default Icon
Print Icon
To Next Page IconTo Next Page
To Next Page IconTo Next Page
To Previous Page IconTo Previous Page
To Previous Page IconTo Previous Page
Loading...
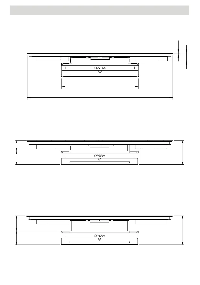
Option 1 - Drawer height mm (DNP93_110 & DNP93_111)
Option 2 - Max depth of top 40 mm (DNP93_120 & DNP93_121)
10
EN
5. DIMENSIONS
Option 1 - Drawer height mm (DNP93_110 & DNP93_111)
Option 2 - Max depth of top 40 mm (DNP93_120 & DNP93_121)
53
6
490
922
152/170
66/8486
182/200
96/11486
20
8. Installation instructions for OPERA hobs with downdraft fan
If the underlay has to be carried out, this underlay must be carried out evenly
according to the specification below.
Milling must be checked for evenness after assembly of the worktop .
! We accept no liability for incorrectly placed hobs !
Insert 12x shims in the
hob cut-out according to
the dimensions
7. PU sealing tape 3x10 mm at the mount bearing surfaces all around.
Flush mounting also possible in the countersink. Consider the height of
the glass plate. Level adjustment if required.
underlay
EN
46
DIMENSIONSEN

Other manuals for Opera Nivel Pro