EasyManua.ls Logo

Opera Nivel Pro - Page 74

Default Icon
Print Icon
To Next Page IconTo Next Page
To Next Page IconTo Next Page
To Previous Page IconTo Previous Page
To Previous Page IconTo Previous Page
Loading...
NL
WAARSCHUWING EN SYMBOLEN
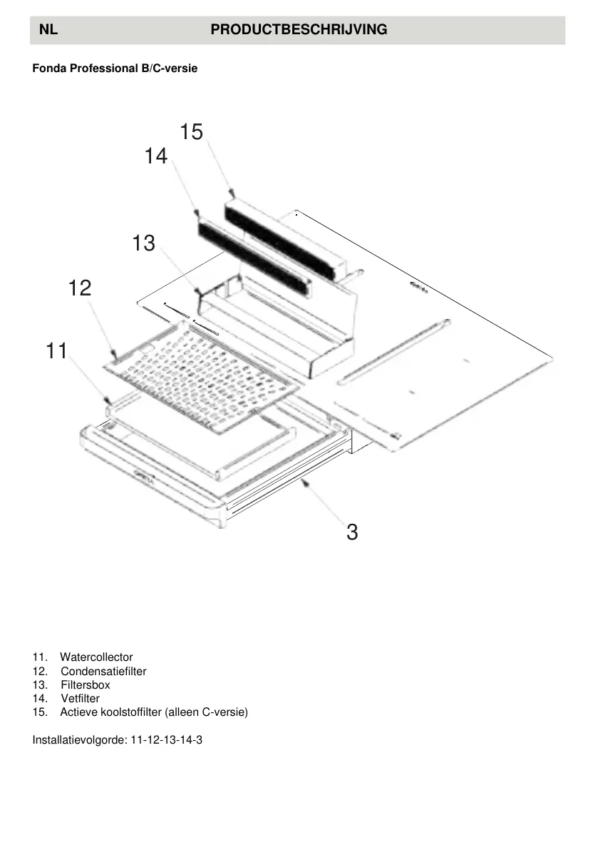
Fonda Professional B/C-versie
15
14
13
12
11
3
11. Watercollector
12. Condensatiefilter
13. Filtersbox
14. Vetfilter
15. Actieve koolstoffilter (alleen C-versie)
Installatievolgorde: 11-12-13-14-3
NL PRODUCTBESCHRIJVING
74

Other manuals for Opera Nivel Pro