EasyManua.ls Logo

Orbit OBK170M - Page 11

Orbit OBK170M
20 pages
Print Icon
To Next Page IconTo Next Page
To Next Page IconTo Next Page
To Previous Page IconTo Previous Page
To Previous Page IconTo Previous Page
Loading...
10
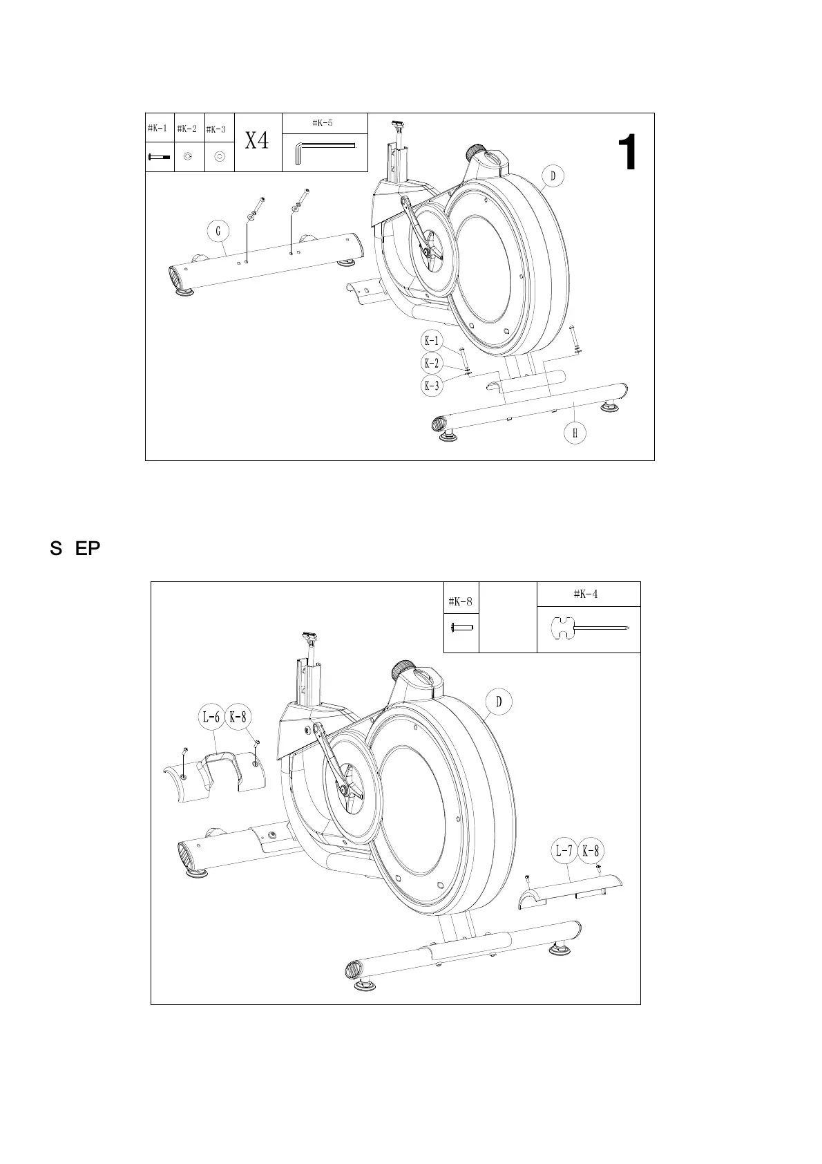
STEP 1
STEP 1STEP 1
STEP 1
#K-2
#K-3
#K-1
X4
#K-5
1
STEP
STEP STEP
STEP 2
22
2
#K-8
X4
2
#K-4

Related product manuals