EasyManua.ls Logo

Outback Power Systems FX 2012T - Page 41

Outback Power Systems FX 2012T
65 pages
Print Icon
To Next Page IconTo Next Page
To Next Page IconTo Next Page
To Previous Page IconTo Previous Page
To Previous Page IconTo Previous Page
Loading...
Copyright 2003 ļ›™ OutBack Power Systems, Inc. FX & VFX Series Inverter/Charger System Installation & Programming Manual
19009 62
nd
Ave NE, Arlington WA 98223 USA 900-0027-1
Tel 360 435 6030 Fax 360 435 6019
Rev 7.2 08/26/05 Page 41
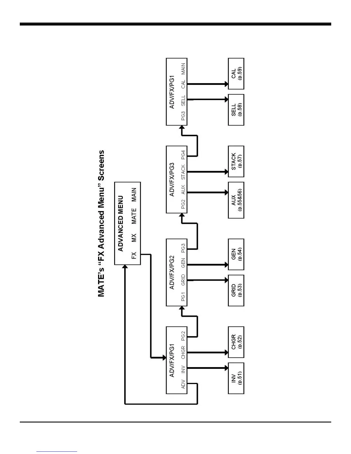
MATE – MENU MAP

Table of Contents

Related product manuals