EasyManua.ls Logo

Oval PC2201 - Page 9

Default Icon
12 pages
Print Icon
To Next Page IconTo Next Page
To Next Page IconTo Next Page
To Previous Page IconTo Previous Page
To Previous Page IconTo Previous Page
Loading...
E-935-1-E
9
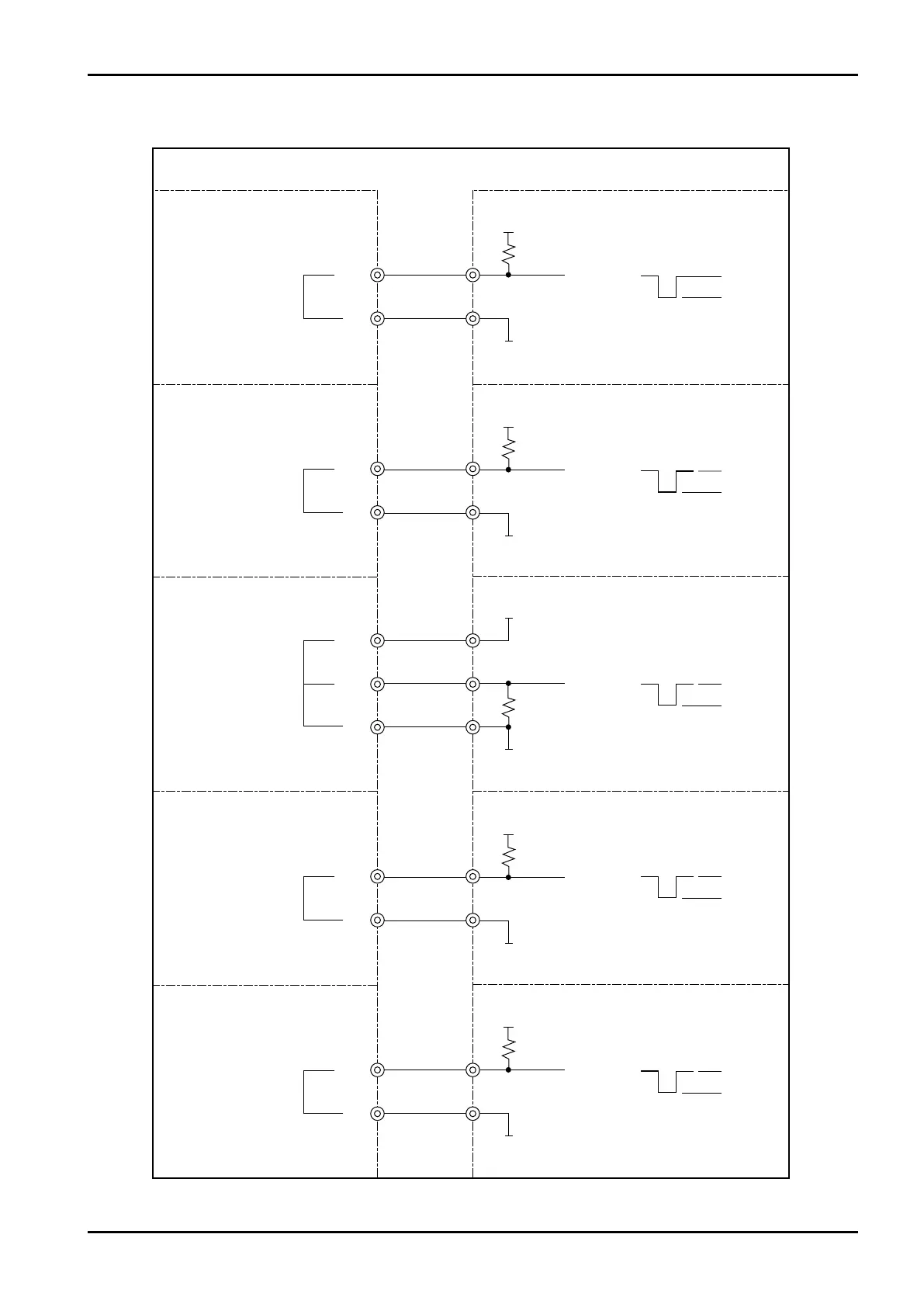
Output Hook-up
SIG
0V
SIG
0V
SIG
0V
SIG
0V
SUP
SIG
0V
Vcc8.5V
GND0V
1kΩ
7.4V
5.6V
PC2201
OUTPUT
OPTO
Vcc13.5V
GND0V
10kΩ(RECOMMENDATION)
(R=10kΩ)
(R=10kΩ)
13.4V
0.1V
PG20
PG30
Vcc24V
GND0V
510Ω
22.0V
14.3V
P.A
Vcc13.5V
30mA
GND0V
10kΩ以上
6.5V
0.1V
Vcc13.5V
GND0V
510Ω
9.6V
4.1V
PG30S
RECEIVING
INSTRUMENT
(SIG.WAVEFORM)