EasyManua.ls Logo

PABX CS416 - Page 9

Default Icon
37 pages
Print Icon
To Next Page IconTo Next Page
To Next Page IconTo Next Page
To Previous Page IconTo Previous Page
To Previous Page IconTo Previous Page
Loading...
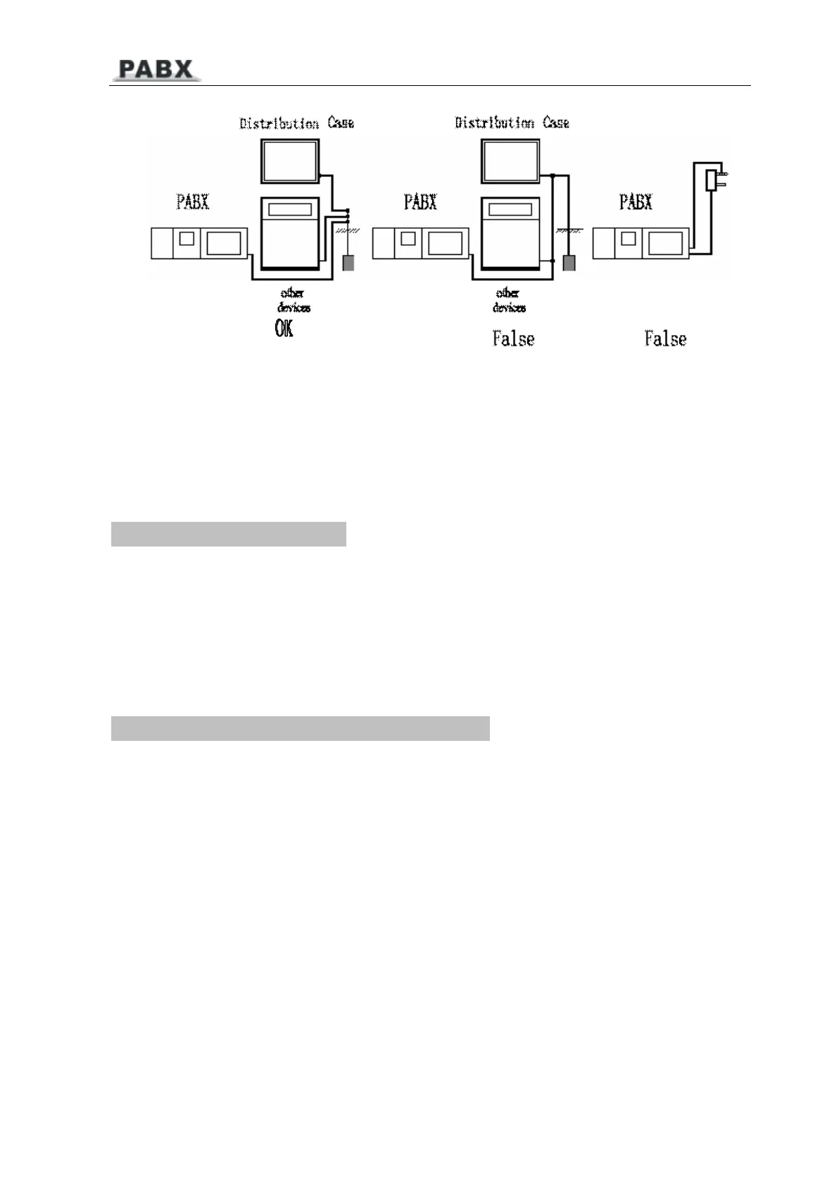
Grou n ding a s follows:
¾ Con n ect the monomer-c r y s t al with EX
T
. line and C.O. line se p aratel y .
.
.
.
¾ Con n ecting extensions a ccording to the in-dil a t e d extension pos itions and C.O. lines to the
correspond in g line por t s o n the unit.
¾ T he C.O. lines w i ll b e co n nec
t
ed di r e ct to the speci a l
Ex
t
s a u tomatic a l l y w hen the p o w e r failu r e
.
T he N o .1
C.O. line w i
ll
be connected to E
x
t.
601 and No.2 to E
x
t.602, No.3 to E
x
t.603, No. 4 to E
x
t.604. So
y
o u on l y
can use the four E
x
t
s as no r m a l phone w i
t
h direct C.O. line.
¾
T
est the s y s t em accord i ng to the default settings.
2.4
2.4
2.4
2.4 Ins
Ins
Ins
Ins
t
t
t
t
allation
allation
allation
allation W
W
W
W arning
arning
arning
arning
1. The wiring should not be done in thu n dering.
2. A v oid using teleph o ne in thun d ering.
3. Please don't use the telephone in flammable and l e aking gas environm e nt.
4. Unless the e quipment is dis c onnected, please don't tou c h the broken p art of the wiring or any
connection ends.
Note: Lightning stroke is an accident, which will not be reg ar ded as nor
m
al maintena n ce.
2.5
2.5
2.5
2.5 Direct
Direct
Direct
Direct Access
Access
Access
Access when
when
when
when Power
Power
Power
Power Failure
Failure
Failure
Failure
The C.O. lines will be connected direct to the special Ex t s automatically when the power
failure. The No.1 C.O. li n e will be connected to Ext. 601 and No.2 to Ext.602, No.3 to Ext.603,
No. 4 to Ext.604. So you only can use the four Ex t s as normal pho n e with direct C.O. line.
For examp l e when som e one call in with No.1 C . O. line at the time of pow e r failure, the
Ext.601 will ring, you can only pick up Ext. 601 and t alk with the calle
r
.
P8

Related product manuals