EasyManua.ls Logo

Pado FDE-201 - Modos de Fechamento; Modos de Cierre; Lock Modes; Fechamento Manual; Cierre Manual; Manual Lock

Pado FDE-201
33 pages
Print Icon
To Next Page IconTo Next Page
To Next Page IconTo Next Page
To Previous Page IconTo Previous Page
To Previous Page IconTo Previous Page
Loading...
23
www.pado.com.br
A fechadura digital FDE-201 pode ser fechada por meio de duas formas: manual ou automática.
La cerradura digital FDE-201 se puede cerrar de dos maneras: manual o automática.
The FDE-201 digital lock can be closed in two ways: manual or automatic.
4.4. Modos de Fechamento
Modos de cierre / Lock Modes
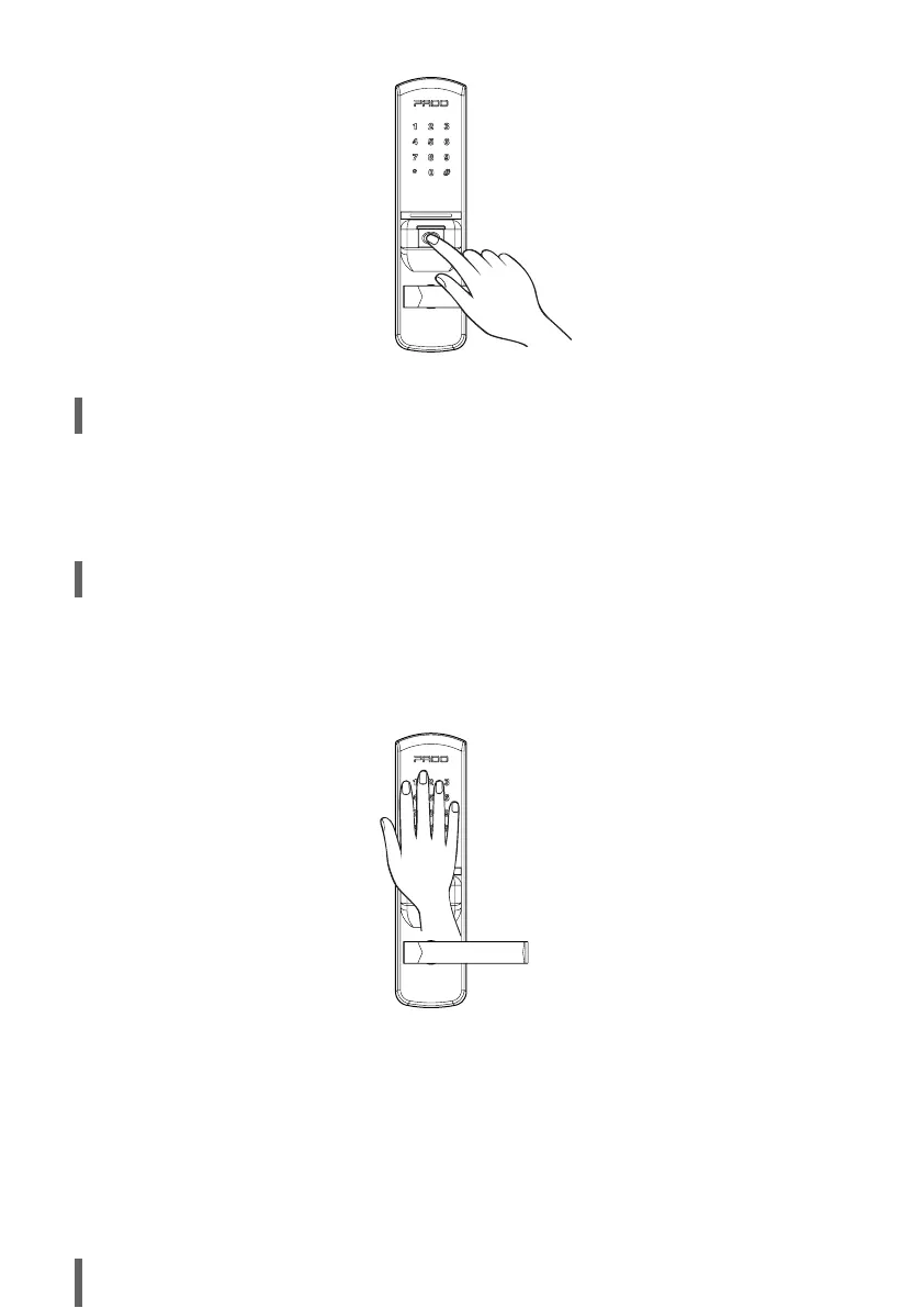
A fechadura digital FDE-201 pode ser fechada manualmente tanto pelo lado interno quanto externo. Pelo lado externo
basta tocar seu teclado numérico.
La cerradura digital FDE-201 se puede cerrar manualmente desde adentro y desde afuera. Desde el exterior, solo toque su teclado numérico.
The FDE-201 digital lock can be closed manually from both the inside and the outside. From the outside, touch the numeric keypad.
Pelo lado interno, a fechadura digital FDE-201, pode ser fechada pressionando-se o botão não perturbe ou rotacionan-
do sua tranqueta manual.
Desde adentro, la cerradura digital FDE-201 puede cerrarse presionando el botón de no molestar o girando su cerradura manual.
From the inside, the FDE-201 digital lock can be closed by pressing the do not disturb button or rotating its manual lock.
4.4.1. Fechamento Manual
Cierre manual / Manual lock

Related product manuals